手机扫描二维码即可观看教学案例视频



米兰milan中国啦啦操混合式教学模式
一、由传统的体育课堂向以学生为中心的“信息化+翻转”教学转变
啦啦操线上线下混合式教学模式将传统的教师为中心转变为以学生为中心教师为主导;由结果性评价向过程性评价和形成性评价转变;由“满堂灌”向启发式教学转变。传统教学和信息化教学相结合,将体育健康理论和啦啦操技术理论融入MOOC中,学生课前自学,课内翻转实践,有效解决了体育课理论教学不足的问题。
二、建设啦啦操MOOC,实行“健康知识+基本运动技能+专项运动技能”为目标的线上线下混合式教学模式。
1.课前,开展线上教学
教师提前录制教学视频,上传MOOC平台,课前发布自学任务,安排学生线上自学,同时进行实时在线交流、讨论,及时解决难点。

2.课中,以学生为中心实施课堂翻转教学
通过线上教学反馈的数据,本着“以学生为中心,以教师为主导”的原则,做好课堂教学的教学设计,在课堂教学中有的放矢,因材施教,采取多种教学方法组织和引导学生进行翻转教学。

3.课后,布置视频作业,组织校内比赛,丰富学生第二课堂
布置视频作业,学生课余时间自主练习并录制视频后,在学习通平台提交,教师线上批阅评价。课外组织比赛为学生体育技能展示提供了舞台,激发了学生对体育技能学习的热情。学生在比赛中,往往能发现自己体育技能的薄弱点和需求,反过来还会回到课堂和MOOC平台进行再学习再提高。





















花球啦啦操队形创编教案

课题内容 |
花球啦啦操队形创编 |
授课时间 |
第10周 |
专业班级 |
大二 |
授课教材 |
啦啦操运动 |
课时 |
2 |
授课类型 |
新授课 |
学生数 |
30 |
教学理念 |
本课程以学习啦啦操基本手位、全国校园啦啦操大学组花球组合动作、技巧啦啦操基本技术为主,使学生初步掌握啦啦操技术动作、舞蹈编排原则以及比赛和表演的基本知识。基于体育美育融合发展的理念,以学生为中心,通过课堂教学、校内体育活动及竞赛、社会实践将课内外有效融合,培养学生的音乐素养和表现形体美、姿态美的能力,让学生体会啦啦操特有的团队精神,激发锻炼的热情。有效提升学生的体质健康水平和审美素养。 |
学情分析 |
教学对象 |
本科生 |
学生特点 |
啦啦操是一项时尚运动,符合新时代大学生求新、求美的心里特征。针对大二本科生已经有一年大学体育课的经历,因此对课程的创新性和挑战度有所要求,在学会一套啦啦操基础组合动作后,需要完成课堂小组队形的创编和展示。进一步培养学生的团队协作能力和创新意识。 |
教学目标 |
1.认知目标:了解和掌握啦啦操基本手位、组合动作及基本技术技巧。 2.技能目标:让90%以上的学生掌握花球啦啦操基本技术和简单队形的跑位展示。 3.思政目标:培养学生的团队协作能力和创新意识,提升发现美和创造美的能力。 |
教学重点 |
1.队形的流动性编排。 2.准确的移动跑位。 |
教学难点 |
l音乐伴奏下的团队队形变化 |
教学方法 |
教法 |
以学生为中心,运用分组练习、现场展示录视频、视频回放对比分析和评价 |
学法 |
课前线上自主学习、课内翻转分组练习,课后参加表演、比赛 |
教学过程 |
环节 |
教学程序的设计 |
教师活动 |
学生活动 |
设计意图 |
课 前 学 习 |
上一节课结课前布置学习通平台教学视频学习任务; 解锁学习通本周任务课件 |
向学生发送课前任务单。 1.SPOC自学; 2.自制小组至少5次队形编排图画,并到课堂讨论。 |
1.利用手机平台接收任务并完成线上自学任务。 2.小组讨论并完成至少5次队形编排图画。 |
提升学生自主学习、探究式创新和团队协作能力。 |
导 课 部 分 热 身 活 动 基 本 部 分 基 本 部 分 基 本 部 分 结 束 部 分 |
课前观看视频 播放导课视频,开发学生队形编排的思路。 
视频作业分析(3分钟) 
|
播放视频,让学生观看,引导学生讨论对比自己小组的队形的优点和不足。 对课前上传学习通平台的优秀视频作业进行讲解分析 |
观看视频,小组讨论,优化小组队形编排,提升流动性和美观性。 观看视频,小组讨论,规范技术动作。 |
提升发现美和创造美的能力。 激发学生的课余时间锻炼的积极性,提交作业的自觉性。 |
热身运动(5分钟) 
小组队形编排演示(2分钟) 
小组队形设计和改进(5分钟) 
队形跑位配合练习 
小组展示(10分钟) 

视频分析(5分钟) 

小组代表发言(5分钟) 
练习改进(5分钟) 
第二轮展示(6分钟) 
同一组前后两轮队形变化的对比分析 
|
音乐伴奏下引导学生从头、肩、胸、髋关节的依次运动。 让一个小组代表出列分享自己小组队形特点。 安排学生用花球摆队形,在图案的变化过程中选择合理的路线。 巡回指导 播放音乐,小组展示,每小组录制视频。 视频回放,安排小组代表出列分析讨论。 与上一节课进行组内对比分析,组间对比分析。 巡回指导,鼓励结束动作造型的创新。 第二轮展示,大屏幕录制。 同一组前后2个视频对比分析,找出自己动作的问题;引导学生讨论、探究解决问题的方法。 |
掌握热身运动的基本姿势,提升部位协调能力,提升音乐节奏感。 构图并讲解设计思路。 发挥个人和团队创新意识进行集体编排,结合跑位练习熟悉路线。 根据老师的提示,对队形和结束造型进行优化。 跟音乐小组配合跑位展示。 探究式思考,小组讨论,掌声相互鼓励。 发表看法和提出改进意见。同时说出自己小组的优点和不足。 对队形变化的不足之处和存在的问题有针对性的讨论并练习。 在原有的队形变化上增加了个别动作的方向变化,增加了难度和结束造型的变化。 认真听取教师对2次队形展示的评价。找出不足,及时改进。 |
活动四肢,感受音乐带来的肢体拉伸。 锻炼创新和解说分析能力。 提升学生自主学习能力和创造性思维。 锻炼创新意识、配合意识,团队协作能力。 学生从自我角度分析队形变化的不足,需要改进的地方 培养发现问题并解决问题的能力,提升审美意识。 提升自我解决问题的能力和审美能力。 充分发挥自主创新和团队协作能力。 通过大屏录制学生队形变化,并与第一遍对比分析,帮助学生直观地发现问题。 |
课内小结(3分钟) 
|
对各小组的进步提出表扬,讲解队形跑位配合的意义,团队协作能力在今后工作中的重要性。 |
对队形配合中体现的团队协作给与肯定,体会完胜成套展示后的获得感和快乐。 |
培养学生团队协作意识、体会个人责任感和获得感。 |












技巧啦啦操肩位托举教案

课题内容 |
技巧啦啦操肩位托举 |
授课时间 |
第14周 |
专业班级 |
大二 |
授课教材 |
啦啦操运动 |
课时 |
2 |
授课类型 |
新授课 |
学生数 |
30 |
教学理念 |
本课程以学习啦啦操基本手位、全国校园啦啦操大学组花球组合动作、技巧啦啦操基本技术为主,使学生初步掌握啦啦操技术动作、舞蹈编排原则以及比赛和表演的基本知识。基于体育美育融合发展的理念,以学生为中心,通过课堂教学、校内体育活动及竞赛、社会实践将课内外有效融合,培养学生的音乐素养和表现形体美、姿态美的能力,让学生体会啦啦操特有的团队精神,激发锻炼的热情。有效提升学生的体质健康水平和审美素养。 |
学情分析 |
教学对象 |
本科生 |
学生特点 |
啦啦操是一项时尚运动,符合新时代大学生求新、求美的心里特征。针对大二本科生已经有一年大学体育课的经历,因此对课程的创新性和挑战度有所要求,在学会一套舞蹈啦啦操基础组合动作后,需要学习技巧啦啦操的基本技术和托举中的安全保护。进一步培养学生的团队协作能力和责任意识。 |
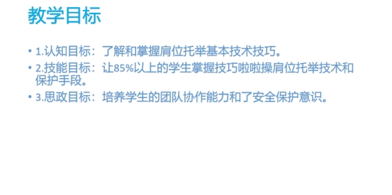
教学目标 |
1.认知目标:了解和掌握肩位托举基本技术技巧。 2.技能目标:让85%以上的学生掌握技巧啦啦操肩位托举技术和保护手段。 3.思政目标:培养学生的团队协作能力和了安全保护意识。 |
教学重点 |
1.双底座肩位托举的同步发力,手位高度的统一。 2.安全保护意识的培养。 |
教学难点 |
l托举中底座双手抓脚的位置高度不够 |
教学方法 |
教法 |
以学生为中心,运用分组练习、现场展示录视频、视频回放对比分析和评价 |
学法 |
课前线上自主学习、课内翻转分组练习,课后参加表演、比赛 |
教学过程 |
环节 |
教学程序的设计 |
教师活动 |
学生活动 |
设计意图 |
课 前 学 习 |
课前发送肩位托举视频教学二维码  
口令示范视频 音乐示范视频 |
向学生发送课前任务练习内容:扫码观看托举动作,自主练习托举数拍和空手动作。 |
利用手机接收任务并完成线上自学任务。 |
提升学生自主学习、探究式创新能力。 |
导 课 部 分 热 身 活 动 基 本 部 分 基 本 部 分 基 本 部 分 结 束 部 分 |
课前观看视频 播放导课
教学示范动作分析(5分钟)
|
播放视频,让学生观看双底座肩位托举的示范动作。 播放双底座肩位托举的技术动作示范视频,讲解技术完成过程中的重点和难点,安全保护提示。 |
观看视频,课前自主练习,对托举动作的配合进行小组讨论。 观看视频,小组讨论,规范技术动作,提升保护意识。 |
小组自觉性练习的培养。 对上一节课教学内容进行回顾。结合自身掌握程度进行稳步提升。 |
热身运动(5分钟) 互推练习 
小组抓脚练习 
小组跟音乐托举练习(5分钟) 
第一轮展示(5分钟) 
对比分析讨论(5分钟) 

练习改进(5分钟) 
第二轮展示(5分钟) 
同一小组2次展示同屏分析 (5分钟) 
“M”形金字塔配合练习 (5分钟) 
|
布置小组互推尖子、数拍抓脚练习,巡回指导。 组织1组3组练习,2组4组保护,每组2次然后交换保护。 1-4组按顺序跟音乐展示1遍肩位托举动作。播放音乐并录制视频。 对每一组展示视频进行回放,请小组代表出列对自己组动作的完成进行点评,教师做补充。 按照第一轮展示中出现的问题进行改进练习。 第二轮视频录制,提示大家展示前互相鼓励,互相提醒。尖子在肩位站立时要跟观众互动。 对同一组前后2次托举动作进行同屏对比分析,让学生进行评价,教师做补充。 肯定学生的动作配合的完成效果。 金字塔的配合练习意义就是体现大集体的团队协作能力。 1-3组搭建M金字塔,4组保护。 |
尖子绷紧互推练习、抓脚练习。 掌握热身运动的基本姿势,提升保护协作能力。 双底座和后点配合数拍抓脚练习3-5次。 注意力集中跟音乐节拍进行托举练习,明确自己的保护职责和站的保护位置。 一组托举一组保护,各司其职。跟音乐统一发力,统一抓脚高度。 观看每一组的托举展示视频,听取每一组代表的评价。同时可以提出自己的看法。 做动作之前,小组要明确问题所在,进行数拍练习。认真体会和观察自己动作和规范动作的不同之处。 相比第一次展示要更加有信心,配合更默契,成功率更高。 同一组前后对比分析、不同组组间对比分析评价,提出问题。 通过每一个小组的努力共同完成金字塔的搭建,都要集中注意力完成 |
养成托举上升过程中身体绷紧的习惯。 数拍抓脚练习,保证团队动作配合的稳定性和安全性。 结合音乐完成托举的配合能力练习。 保护意识和托举的发力配合意识。 培养发现问题、提出问题的探究式学习能力。 培养解决问题的能力。 巩固提升托举的完成质量。 从自我角度分析动作难点,加深对动作的认知。通过同屏分析帮助学生直观的发现问题。 体会每一个同学都是金字塔的一部分,共同努力才能成功完成。 |
课内小结(3分钟) 
|
对各小组的进步提出表扬,团队协作能力在今后工作中的重要性。引导学生总结金字塔成功完成后的体会。 |
回顾本次课练习肩位托举和金字塔的感受,总结优点和不足之处。 |
让学生感受到 技巧啦啦操运动中的团队协作精神和责任意识。 |


米兰milan中国 米兰milan中国
花球啦啦操队形创编教学视频 技巧啦啦操肩位托举教学视频


米兰milan中国 米兰milan中国
啦啦操基本手位套路5-6八拍教学视频 啦啦操基本手位套路7-8八拍教学视频

教
学
设
计
课程名称:花球啦啦操基本手位套路教学
教师姓名:汝铁林
联系电话:13359251661
所属单位:米兰milan中国米兰milan
花球啦啦操基本手位套路(5-6八拍)
教学设计
参赛信息:
课程名称:啦啦操 课程类型:公共体育课
教学对象:2017级本科生 教具准备:手机、多媒体电脑、投影仪
主讲教师:汝铁林 参赛学校:米兰milan中国
一、学情分析
本节课的教学对象为2017级本科生,通过一学年的啦啦操专项课学习,拥有一定的啦啦操基本技术和实践经验,有一定的运动水平,热爱啦啦操,生性活泼、好动,模仿力、掌握音乐的节奏能力强,学习积极性高、勇于竞争、自我表现力强。但啦啦操的基本功掌握的不够扎实,学习啦啦操组合套路过程中,在跳跃时空中的姿态控制、旋转的稳定性、手位的准确定位方面还有待提高。
二、教学目的:
1.认知目标:学习和掌握啦啦操的基本运动规律,从而了解花球啦啦操手位组合套路和音乐的结合,使学生能将已掌握的啦啦操技术和花球的使用共熔一炉,发展身体的柔韧性、灵活性、协调性和节奏感,提高动作的速度和连贯性,使学生熟练掌握花球啦啦操手位套路第5-6八拍衔接组合。
2.技能目标:通过本次课的学习,复习并掌握上一节课花球啦啦操手位套路1-4八拍组合动作,使学生能够基本掌握第5-6八拍组合动作,并能伴随音乐进行1-6八拍动作的连接练习,同时提高动作的速度和连贯性。
3.情感目标:培养并发挥学生的自主学习能力、自我展现能力、团队合作能力。
三、教学重点、难点及处理措施
根据教学目标及学生花球啦啦操技术水平情况,确定本课的重难点为:
重点:分腿小跳、L手位、单足旋转为本课的教学重点,主要通过学生示范讲解、教师启发总结、师生探讨、口诀讲解等手段使之得以突出。
难点:单足旋转的发力和平衡技术为本课的难点,本节课将通过合作探究、动作视频对比纠错等形式使之得以化解。
处理措施:
1.教师在教学环节中采用翻转课堂,学生能够更专注于技法学习和理解,让学生的课堂参与度更高;课堂示范法,练习过程中教师针对重点动作予以讲解纠正,在教学设计中采用视频录播等多媒体教学手段,使学生在练习过程中能够发现自己的缺点和不足,再借助理论分析得出具体操作方法,增加学生和教师互动和个性化沟通调动学生的积极性,学生反复练习体会,最后达到熟练掌握组合的目的。
2.教师通过个别辅导纠错,解决啦啦操手位组合动作的力度、跳跃、旋转、节奏变化和动作衔接,最后在在音乐气氛的烘托和教师的带领下,学生体会和发挥啦啦操舞蹈带来的激情。
四、教学媒体
在教学过程中引入多媒体回放系统,通过专业的运动分析软件Kinovea,将老师在练习过程中用手机录制的学生的技术动作与慕课中的标准示范动作进行同屏对比分析,帮助学生直观地发现自己技术动作的正确与错误,通过小组讨论和相互纠正,及时改正错误动作,极大的提高了学生的学习效率,降低了错误动作的重复出现频次。
五、教学创新点
采用翻转课堂教学方法,课前通过慕课平台向学生推送本节课的慕课教学内容,引导学生自主学习,并通过平台的交互模块,及时解决学生在慕课学习过程中遇到的各种问题,增进教师与学生沟通,同时也增进了学生之间的交流。
在课堂教学中,让学生了解啦啦操是一项有活力、有气氛、有团队精神的运动。通过课前自主结队练习、观看手机慕课平台和观看上节课动作视频回放引入课堂,激发学生学习兴趣,帮助学生形成学习动机,提高学生的兴奋性和积极性,同时检验学生课前慕课自学质量,培养学生求知欲望。
采用分组教学,组长负责和一对一纠错、分组展示,每组好差学生结合,由好带差,分组学习过程采用学生自主学习方法,突出以学生为中心的地位。组织协作学习,合作学习,开展讨论与交流,并对其过程进行引导;学生通过团队学习,积极承担并完成个人责任;相互支持与配合,进行促进性互动;实现有效沟通,建立维护相互信任,增强了学生的团队配合意识,让学生自我体会、自我感悟、自我评价,从而发现问题并解决问题,体验参与的乐趣和成功的喜悦。通过分组练习的讨论和相互纠正,及时改正错误动作,极大的提高了学生的学习效率,降低了错误动作的重复出现频次。
引入信息化教学技术,利用手机拍摄动作练习过程,输入电脑通过教室大屏幕同屏对比学生技术动作和标准动作,帮助学生形象直观的发现错误动作;通过学生展示视频实时回放对比课堂中录制的学生动作练习与慕课提供的标准动作进行时时对比分析,引导学生探究学习,通过学生自主发现问题,进行交流、实践、互相纠正等探索活动,获得知识、技能、情感与态度的发展,特别是探索精神和创新能力的发展。
采取视频录制回放现场评估和分组展示后学生自评、互评、教师评价相结合的方式进行学生课堂表现进行评定,改善以往课堂只有教师评价的模式。
本堂课中的教法与学法,充分贯彻“以学生为中心”的指导思想,教师做好组织者、引导者、参与者、服务者的角色。课堂上充分采用表扬、鼓励、赞赏的语言,挖掘学生潜力,发展其创造力,使学生练有所悟,悟有所创,从而养成终身体育锻炼的习惯。
六、教学内容及教学过程
(一)课前学习:推送慕课,进行课前预习、测评和作业。
1.预习:发送花球啦啦操手位套路第5-6八拍的慕课,帮助学生在课前建立运动表象;采用了任务驱动法,教师制定学生分组教学的任务,学生明确目标,预习效果更佳。
2.测评:设计测评题目,其目的一是作为课前预习的督促手段,二则是对学生知识点掌握情况的摸底,辅助学情分析,确定本节课重点、难点;
3.作业:发送作业要求,辅助学情分析。
(二)课堂常规
培养学生的组织纪律观念,让学生清楚本节课的目的与任务,建立体育课堂活动安全意识。
(三)准备部分
专项准备活动:有氧舞蹈热身
队形队列:

(四)基本部分
1、观看视频
队形队列:

(1)观看上节课动作视频,介绍花球啦啦操手位的发力技术。
(2)提问:上节课动作视频存在的问题有哪些?认识上节课动作所存在的问题,然后明确解决问题的关键点。
2、复习已学花球啦啦操手位套路第1-4八拍组合动作
教学要求:(1)动作的熟练性(2)动作技术的正确性
3、学习花球啦啦操手位套路第5-6八拍组合动作
(1)讲解示范


(队形1) (队形2)
A、讲解内容:第5-6八拍组合动作分解动作
B、示范:镜面示范和背面示范相结合
C、教学要求:掌握第5-6八拍组合动作的组成和准确位置
(2)组织练习
A、练习方法
口令指挥进行集体练习:慢拍口令练习、快拍口令练习
B、教学要求:
注意发力快、路线短、制动脆、定位准的技术,总结并指出学生出现的错误技术动作,强调重点,化解难点。
(3)分解-完整教学

上肢的学习 下肢的学习 完整配合
练习方法
●口令指挥进行上肢练习:慢拍口令、快拍口令各一遍。(队形一)
●口令指挥进行下肢练习
●口令指挥进行完整练习
●音乐指挥进行完整练习,加强对动作的记忆。
●学生进行分组练习,教师巡回纠正。(队形二)
4、观看大学生花球啦啦操比赛视频

●教学要求:建立高规格的发力技术的概念,形成自我判断的正确标准。
5、分组练习
(1)组织练习
●分组拍摄动作,进行自查。
●教师进行普遍问题进行强化
●分组展示和集体展示
●自评互评、教师总结性评价和阶段性评价相结合
(2)教学要求
●拍摄时用高标准要求自己完成动作
●观看本小组动作视频,发现存在的问题,并进行自我评价。
●在组长带领下进行练习,集体解决本组的问题。
●对于纠正的问题和强化的动作技术在进行集体展示时有所提高
(五)结束部分
集合整队,学生观看大屏幕,教师将所拍的本节课部分练习内容进行回放,对本堂课教学内容——花球啦啦操手位套路第5-6八拍组合动作进行总结与提炼,总结本课内容,举例点评学生技术动作学习掌握情况,充分肯定同学们的课堂表现。鼓励大家在今后的学习与生活中积极参与啦啦操项目,通过团队学习,积极承担并完成个人责任;相互支持与配合,进行促进性互动;实现有效沟通,建立维护相互信任,注重团队配合意识,增强自我体会、自我感悟、自我评价能力。

教
学
设
计
课程名称:花球啦啦操基本手位套路教学
教师姓名:汝铁林
联系电话:13359251661
所属单位:米兰milan中国米兰milan
花球啦啦操基本手位套路(7-8八拍)
教学设计
参赛信息:
课程名称:啦啦操 课程类型:公共体育课
教学对象:2017级本科生 教具准备:手机、多媒体电脑、投影仪
主讲教师:汝铁林 参赛学校:米兰milan中国
一、学情分析
本节课的教学对象为2017级本科生,通过一学年的啦啦操专项课学习,拥有一定的啦啦操基本技术和实践经验,有一定的运动水平,热爱啦啦操,生性活泼、好动,模仿力、掌握音乐的节奏能力强,学习积极性高、勇于竞争、自我表现力强。但啦啦操的基本功掌握的不够扎实,学习啦啦操组合套路过程中,在跳跃时空中的姿态控制、旋转的稳定性、手位的准确定位方面还有待提高。
二、教学目的:
1.认知目标:学习和掌握啦啦操的基本运动规律,从而了解花球啦啦操手位组合套路和音乐的结合,使学生能将已掌握的啦啦操技术和花球的使用共熔一炉,发展身体的柔韧性、灵活性、协调性和节奏感,提高动作的速度和连贯性,使学生熟练掌握花球啦啦操手位套路第7-8八拍动作组合。
2.技能目标:通过本次课的学习,复习并掌握上一节课花球啦啦操手位套路5-6八拍组合动作,使学生能够基本掌握第5-6八拍组合动作,并能伴随音乐进行1-8八拍动作的连接练习,同时提高动作的速度和连贯性。
3.情感目标:培养并发挥学生的自主学习能力、自我展现能力、团队合作能力。
三、教学重点、难点及处理措施
根据教学目标及学生花球啦啦操技术水平情况,确定本课的重难点为:
重点:单足旋转、SIDE K手位、侧踢腿为本课的教学重点,主要通过学生示范讲解、教师启发总结、师生探讨、口诀讲解等手段使之得以突出。
难点:SIDE K手位、侧踢腿为本课的难点,本节课将通过合作探究、动作视频对比纠错等形式使之得以化解。
处理措施:
1.教师在教学环节中采用翻转课堂,学生能够更专注于技法学习和理解,让学生的课堂参与度更高;课堂示范法,练习过程中教师针对重点动作予以讲解纠正,在教学设计中采用视频录播等多媒体教学手段,使学生在练习过程中能够发现自己的缺点和不足,再借助理论分析得出具体操作方法,增加学生和教师互动和个性化沟通调动学生的积极性,学生反复练习体会,最后达到熟练掌握组合的目的。
2.教师通过个别辅导纠错,解决啦啦操手位组合动作的力度、跳跃、旋转、节奏变化和动作衔接,最后在在音乐气氛的烘托和教师的带领下,学生体会和发挥啦啦操舞蹈带来的激情。
四、教学媒体
在教学过程中引入多媒体回放系统,通过专业的运动分析软件Kinovea,将老师在练习过程中用手机录制的学生的技术动作与慕课中的标准示范动作进行同屏对比分析,帮助学生直观地发现自己技术动作的正确与错误,通过小组讨论和相互纠正,及时改正错误动作,极大的提高了学生的学习效率,降低了错误动作的重复出现频次。
五、教学创新点
1.采用翻转课堂教学方法,课前通过慕课平台向学生推送本节课的慕课教学内容,引导学生自主学习,并通过平台的交互模块,及时解决学生在慕课学习过程中遇到的各种问题,增进教师与学生沟通,同时也增进了学生之间的交流。
2.在课堂教学中,让学生了解啦啦操是一项有活力、有气氛、有团队精神的运动。通过课前自主结队练习、观看手机慕课平台和观看上节课动作视频回放引入课堂,激发学生学习兴趣,帮助学生形成学习动机,提高学生的兴奋性和积极性,同时检验学生课前慕课自学质量,培养学生求知欲望。
3.采用分组教学,组长负责和一对一纠错、分组展示,每组好差学生结合,由好带差,分组学习过程采用学生自主学习方法,突出以学生为中心的地位。组织协作学习,合作学习,开展讨论与交流,并对其过程进行引导;学生通过团队学习,积极承担并完成个人责任;相互支持与配合,进行促进性互动;实现有效沟通,建立维护相互信任,增强了学生的团队配合意识,让学生自我体会、自我感悟、自我评价,从而发现问题并解决问题,体验参与的乐趣和成功的喜悦。通过分组练习的讨论和相互纠正,及时改正错误动作,极大的提高了学生的学习效率,降低了错误动作的重复出现频次。
4.引入信息化教学技术,利用手机拍摄动作练习过程,输入电脑通过教室大屏幕同屏对比学生技术动作和标准动作,帮助学生形象直观的发现错误动作;通过学生展示视频实时回放对比课堂中录制的学生动作练习与慕课提供的标准动作进行时时对比分析,引导学生探究学习,通过学生自主发现问题,进行交流、实践、互相纠正等探索活动,获得知识、技能、情感与态度的发展,特别是探索精神和创新能力的发展。
5.采取视频录制回放现场评估和分组展示后学生自评、互评、教师评价相结合的方式进行学生课堂表现进行评定,改善以往课堂只有教师评价的模式。
本堂课中的教法与学法,充分贯彻“以学生为中心”的指导思想,教师做好组织者、引导者、参与者、服务者的角色。课堂上充分采用表扬、鼓励、赞赏的语言,挖掘学生潜力,发展其创造力,使学生练有所悟,悟有所创,从而养成终身体育锻炼的习惯。
六、教学内容及教学过程
(一)课前学习:推送慕课,进行课前预习、测评和作业。
1.预习:发送花球啦啦操手位套路第7-8八拍的慕课,帮助学生在课前建立运动表象;采用了任务驱动法,教师制定学生分组教学的任务,学生明确目标,预习效果更佳。
2.测评:设计测评题目,其目的一是作为课前预习的督促手段,二则是对学生知识点掌握情况的摸底,辅助学情分析,确定本节课重点、难点;
3.作业:发送作业要求,辅助学情分析。
(二)课堂常规
培养学生的组织纪律观念,让学生清楚本节课的目的与任务,建立体育课堂活动安全意识。
(三)准备部分
专项准备活动:有氧舞蹈热身
队形队列:

(四)基本部分
1、观看视频
队形队列:

(1)观看上节课动作视频,介绍花球啦啦操手位的发力技术。
(2)提问:上节课动作视频存在的问题有哪些?认识上节课动作所存在的问题,然后明确解决问题的关键点。
2、复习已学花球啦啦操手位套路第1-6八拍组合动作
教学要求:(1)动作的熟练性(2)动作技术的正确性
3、学习花球啦啦操手位套路第7-8八拍组合动作
(1)讲解示范


(队形1) (队形2)
A、讲解内容:第7-8八拍组合动作分解动作
B、示范:镜面示范和背面示范相结合
C、教学要求:掌握第7-8八拍组合动作的组成和准确位置
(2)组织练习
A、练习方法
口令指挥进行集体练习:慢拍口令练习、快拍口令练习
B、教学要求:
注意发力快、路线短、制动脆、定位准的技术,总结并指出学生出现的错误技术动作,强调重点,化解难点。
(3)分解-完整教学

上肢的学习 下肢的学习 完整配合
练习方法
●口令指挥进行上肢练习:慢拍口令、快拍口令各一遍。(队形1)
●口令指挥进行下肢练习
●口令指挥进行完整练习
●音乐指挥进行完整练习,加强对动作的记忆。
●学生进行分组练习,教师巡回纠正。(队形2)
4、观看大学生花球啦啦操比赛视频

●教学要求:建立高规格的发力技术的概念,形成自我判断的正确标准。
5、分组练习
(1)组织练习
●分组拍摄动作,进行自查。
●教师进行普遍问题进行强化
●分组展示和集体展示
●自评互评、教师总结性评价和阶段性评价相结合
(2)教学要求
●拍摄时用高标准要求自己完成动作
●观看本小组动作视频,发现存在的问题,并进行自我评价。
●在组长带领下进行练习,集体解决本组的问题。
●对于纠正的问题和强化的动作技术在进行集体展示时有所提高
(五)结束部分
集合整队,学生观看大屏幕,教师将所拍的本节课部分练习内容进行回放,对本堂课教学内容——花球啦啦操手位套路第1-8八拍组合动作进行总结与提炼,总结本课内容,举例点评学生技术动作学习掌握情况,充分肯定同学们的课堂表现。鼓励大家在今后的学习与生活中积极参与啦啦操项目,通过团队学习,积极承担并完成个人责任;相互支持与配合,进行促进性互动;实现有效沟通,建立维护相互信任,注重团队配合意识,增强自我体会、自我感悟、自我评价能力。
疫情期间啦啦操线上教学的“三步曲”
米兰milan 汝铁林
第一步:设计教案
准备一节体育课线上教学内容,是一件不容易的事情,既需要理论又需要实践,因此PPT和视频制作必不可少;课程时间安排要合理紧凑,包括准备部分、开始部分、基本部分和结束部分。
课的内容 |
1.第五周优秀手位及素质作业赏析 2.啦啦操25-32手位分解示范讲解及练习 3.运动与营养知识学习与讨论 4.课内身体素质练习 5.抗疫宣传片《非常时期那些走心的凡人金句》 |
课的任务 |
1.使学生了解第五周作业中出现的问题和优秀作业赏析 2.学习25-32手位,进一步掌握啦啦操手位发力技术 3.使学生初步了解运动与营养理论知识 4.疫情期间居家锻炼,运动战“疫”,提高身体素质 5.抗疫宣传片观看,培养学生爱国主义精神 |
时间 |
课的内容 |
学习的具体内容与教法 |
5´ 75´ |
一、课前准备 二、学习通签到 (第1次) 三、理论讲解 |
提前10分钟进入学习通课程和班级QQ群设定好群课堂模式,准备好课件,QQ群课堂里与学生互相问好。 组织方法:通过QQ群课堂在线语音模式结合学习通平台课程指导学生。 安排学习通平台签到(普通签到,设置10分钟时限) 1.第五周作业出现的问题和优秀作业赏析(视频) 2.啦啦操25-32手位分解示范图(PPT) 3.啦啦操25-32手位分解示范(视频) 4.运动与营养(视频) 第二方案: 如果学习通平台网络堵塞或卡顿,QQ群文件同步上传文件提供相应的教学内容供学生下载学习。 组织方法:通过QQ群课堂的语音在线讲解,组织学生听课。 |
班级啦啦操班人数42日期3.30-4.3周次6 授课教师:汝铁林
结构 |
时间 |
课的内容 |
学习的具体内容与教法 |
基 本 部 分 结 束 部 分 |
75´ 10´ |
四、讨论 五、课内素质练习 六、第2次签到、布置课后作业 |
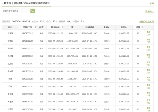
1.学习通讨论区提出问题,学生回答。 2.QQ群课堂点名学生回答,并进行交流讨论。 3.问题1:练习啦啦操手位时应注意什么?(点名) 4.问题2:请简单表述啦啦操25-32个手位。 5.问题3:人体所需的七大营养素分别是什么? 6.问题4:运动前禁忌吃什么成分的食物? 7.问题5:运动中补水的原则是什么? 组织方法: 1.指定部分学生练习后将图片或视频通过QQ小窗口发给教师 2.如果有学生感觉运动量有些大,可延长间歇时间或少做一组 3. 内容及要求: (1)俯卧撑(男)、跪撑(女)10个2组(组间间歇30秒)--休息1分钟; (2)开合跳20次2组(间歇30秒)--休息1分钟; (3)平板支撑1分钟2组(间歇30秒)--休息1分钟; (4)俯撑后举腿10次2组(间歇30秒)--休息1分钟; (5)俯撑手脚对侧上举8次2组(间歇30秒)--休息1分钟; (6)熊爬8次2组(间歇30秒)。 1.学习通第2次签到(10分钟时限) 2.播放疫情防控先进事迹宣传片《非常时期那些走心的凡人金句》 (来源:学习强国) 3.学习通课程作业(100分): (1)上传啦啦操25-32手位练习视频(50%) (2)上传班级QQ群运动排行2次3000步以上截图(20%),身体素质练习图片或视频(30%)。 |
课后小结 |
1.42名学生全部按时上下课,到课率100%; 2.学生回答问题积极,课堂素质练习视频认真规范; 3.第5周作业完成质量比较好,提交率95.2%,优秀率14.3%,合格率83.3%;2名学生未按时提交作业,1名学生作业内容缺少啦啦操1-24手位练习视频。 |
第二步:导演课堂
一、课前准备部分
提前10分钟进入学习通课程和班级QQ群设定好群课堂模式,准备一份好打印好的教案,这样心里比较踏实。QQ群课堂里播放一首欢快的音乐,等待学生陆续进入课堂。
二、开始部分
1.师生问好;
2.安排学习通平台签到(设置10分钟时限)
三、基本部分
1.总结上一周作业批阅中出现的问题和优秀作业赏析(视频);
(1)啦啦操32手位优秀视频作业赏析
批阅作业时将学生提交在学习通平台的优秀视频作业下载,编好班级姓名,将小视频利用软件编辑排序制作成视频课件,在课堂上分享并对技术动作进行点评。建议在使用视频前需要与学生本人沟通,经同意方可编辑使用。


(2)优秀素质作业视频及图片赏析
素质作业分为身体力量练习、有氧练习和班级QQ群运动排行,每周最少2次3000步以上排行记录。
啦啦操班优秀素质作业视频:


啦啦操班优秀素质作业图片赏析(PPT):





啦操手位练习
(1)25-32手位示范图讲解
要求:学生按照练习要求跟随教师讲解按照图示进行同步模仿练习。


(2)25-32手位视频示范同步练习(10分钟)
要求:学生面对视频按照示范动作同步练习(重复3-5遍)


运动与营养知识讲座(视频)

答疑讨论

课内素质练习视频同步示范指导(20分钟):

观看疫情防控先进事迹宣传片,培养爱国主义精神。

第三步:课后作业
体育课线上教学课后作业是反映学生线上学习和课后练习效果的主要途径,好的作业是对线上教学最好的反馈之一,学生完成的好,老师也很欣慰!





















课题内容 |
气排球特色接球技术——搬挡球 |
授课时间 |
第四周 |
专业班级 |
大一 |
授课教材 |
气排球实用教程 |
课时 |
2 |
授课类型 |
新授课 |
学生数 |
30 |
教学理念 |
搬挡球是气排球特色接球手法之一,比赛中多用于接较重来球。课程采用线上线下混合式教学模式,基于“比赛贯穿去课程”教学理念,利用信息技术使学生将内容与实际比赛相结合,创设情境引出新知,通过进阶式任务和设计教学比赛帮助学生自主练习,从而达到了技术习得,比赛素养形成,体育道德教育实现的目的,充分体现了“以赛促学、以赛促练、赛练结合”的教学理念。 |
学情分析 |
教学对象 |
本科生 |
学生特点 |
本节课的教学对象为大一的学生,90%的同学没有排球基础,但有一定的运动基础,热爱排球,生性活泼、好动,模仿力、好奇心强,学习积极性高、勇于竞争、自我表现欲强。 |
教学目标 |
1、认知目标:了解气排球各种特色接球技术,提高学生气排球学习的兴趣。 2、技能目标:帮助85%的学生基本掌握气排球搬挡球技术,20%的学生熟练掌握气排球搬挡球技术,同时发展手部灵活性、反应灵敏性、上下肢协调性等身体素质。 3、思政目标:发挥学生的创新能力,培养顽强拼搏、永不言弃的女排精神。 |
教学重点 |
搬挡球的正确手型、击球点、击球部位为本课的教学重点,通过学生示范讲解、大屏动作分析软件、教师启发总结、师生探讨、口诀讲解等手段使之得以突出。 |
教学难点 |
l全身协调发力为本课的难点,通过徒手练习、合作探究、动作视频对比纠错等形式使之得以化解。 |
教学方法 |
教法 |
坚持“以学生为主体,教师为主导”的基本原则,采用情境教学法、启发式教学法、比赛游戏教学法。 |
学法 |
采用自主学习、合作探究的学习方式,使学生将知识与实际比赛相联系,赛中学、赛中练。 |
教学过程 |
环节 |
教学程序的设计 |
教师活动 |
学生活动 |
设计意图 |
课 前 学 习 |
教学平台发布课前任务: 发送气排球特有接球技术的慕课。 |
向学生发送课前任务单。 ①慕课自学; ②团队提交练习视频; ③线上互评视频作业。 |
①利用手机平台接收任务并完成线上自学任务。 ②小组线上讨论,并拍摄练习视频上传。 ③线上互评 |
①帮助学生在课前建立运动表象; ②团队协作 ③互评加深对动作的分析。 |
导 课 部 分 热 身 活 动 基 本 部 分 基 本 部 分 基 本 部 分 结 束 部 分 |
创设情境分析视频(3分钟) 播放导课视频,引导学生分析接球的重要性。 
|
播放视频,让学生观看,引导学生分析: ①接球在比赛中的重要应用; ②中国女排在比赛过程中体现出来的女排精神。 |
观看视频,积极分析并回答接球的重要作用。 分析中国女排在比赛中女排精神的体现。 |
通过中国女排精彩的接球视频,激发了学生学习的兴趣,引导学生自主分析问题,沉浸式地学习中国女排精神。 |
抛球比赛合作探究(5分钟) “三球不归一”游戏 通过游戏复习上节课内容,尝试运用课前学习的接球手法。 
翻转教学学生示范讲解 (5分钟) 
学生从自己角度讲解示范。 学生带领徒手练习(3分钟) 徒手练习可以帮助学生重点体会动作的发力,化解难点。
一传一接体会控球 同屏对比自主探究(10分钟)  
“贪吃蛇”变方向搬挡球
(5分钟)  
“接球投篮”提高准确 (10分钟) 
|
①介绍游戏规则; ②引导学生分组; ③裁判并计分; ④比赛时提示学生做好准备姿势及时移动取位。 ①引导学生讨论并选出课前练习最好的同学; ②鼓励学生对课前自学进行展示,并肯定学生的练习成果 ③引导学生进行补充; ④补充学生遗漏。 ①肯定学生的组织练习方式和动作; ②提示学生体会自下而上的发力; ①引导学生讨论如何有球练习; ②巡回指导; ③利用大屏录制学生练习; ④引导学生通过大屏对比分析,找出自己动作的问题; ⑤引导学生讨论探究解决错误动作的方法。 ①介绍游戏规则; ②引导学生分组; ③组织学生参与游戏; ④提示学生体会变方向搬挡球的要领; ⑤在游戏中穿插身体素质练习。 ①介绍游戏规则; ②引导学生分组; ③组织学生参与游戏; ④提示抛球同学将球跑到位; ⑤提示接球同学及时判断取位,控制出球力度。 |
①讨论游戏玩法并自主分组; ②团队配合完成游戏任务; ③积极总结比赛过程中接球手法的运用。 ①积极讨论并推选同学; ②认真聆听同学讲解示范,并跟随练习; ③补充同学讲解示范的不足。 ①跟随领做同学口令认真练习。 ②发现问题及时提出,相互讨论解决。 ①积极思考,讨论; ②认真练习,体会如何接好同伴的抛球; ③认真观察自己动作与标准动作的不同之处; ④团队协作,探究错误动作解决方法。 ①聆听并理解规则; ②体会向侧面搬挡球; ③快速移动取位。 ①聆听并理解规则; ②团队协作; ③及时判断来球,移动取位; ④控制球的力度,提高搬挡球的弧度和高度。 |
①复习上节课学习的准备姿势和移动步法; ②提升学生学习的兴趣; ③帮助学生体验接球的重要性; ④培养学生规则意识、团结协作、顽强拼搏精神。 ①以学生为中心,引领学生大胆尝试; ②学生从自我角度分析动作难点,加深对动作的认知。 学生根据线上学习和自己课前练习体会,积极思考,从学生角度出发,自行组织练习活动,提升学生自主学习能力和创造性思维。 ①传抛球练习开始过渡到有球练习,同时又降低了初学接球的难度; ②通过大屏录制学生练习动作,并在动作分析软件中同屏对比标准动作,帮助学生直观地发现问题。 ①将枯燥的技术练习游戏化; ②锻炼学生向侧面搬挡球的能力; ③增强学生团队协作能力。 改编大家常见的篮球投篮,练习学生搬挡球的准确性,向比赛需求靠拢,同时增强了学生团队凝聚力。 |
重温经典女排精神 (3分钟) 
|
①播放2016年中国女排里约奥运会夺冠精彩视频。 ②引导学生总结搬挡球的要领。 ③引导学生总结女排精神的内涵。 ④布置课后练习,团队提交两人搬挡球练习视频,并在下次课前完成线上互评。 |
①认真观看,并讨论接球的要领。 ②欣赏中国女排的精彩攻防。 ③总结女排精神在排球及日常生活、学习中的重要作用。 |
以中国女排经典比赛结束课程,即让学生再次感受到了接球的重要性,又让女排精神潜移默化地深入人心。 |
气排球特有垫球技术教学设计

课程名称:气排球 课程类型:公共体育课
教学对象:有硬排基础的同学教具准备:手机、多媒体电脑、投影仪
主讲教师:林海强 参赛学校:米兰milan中国

本节课的教学对象为选修过硬排的学生,拥有一定的排球理论基础和实践经验,有一定的运动水平,热爱排球,生性活泼、好动,模仿力、好奇心强,学习积极性高、勇于竞争、自我表现欲强。但硬排的基本功掌握的不够扎实,在学习气排球不同垫球技术时技术动作易变形出现错误。

1、认知目标:了解气排球特有的各种垫球技术,提高学生学习气排球的兴趣。
2、技能目标:85%的学生基本掌握气排球特有的各种垫球技术,20%的学生熟练掌握气排球特有的各种垫球技术,同时发展手部灵活性、反应灵敏性、上下肢协调性等身体素质。
3、情感目标:培养并发挥学生的自主学习能力、团队合作能力、创新能力,以及克服困难、拼搏进取的优良品质。

根据教学目标及学生排球技术水平情况,确定本课的重难点为:
重点:各种垫球技术的正确手型、击球点、击球部位为本课的教学重点,主要通过学生示范讲解、教师启发总结、师生探讨、口诀讲解等手段使之得以突出。
难点:全身协调发力为本课的难点,本节课将通过合作探究、动作视频对比纠错等形式使之得以化解。

在教学过程中引入多媒体回放系统,通过专业的运动分析软件Kinovea,将老师在练习过程中用手机录制的学生的技术动作与慕课中的标准示范动作进行同屏对比分析,帮助学生直观地发现自己技术动作的正确与错误,通过小组讨论和相互纠正,及时改正错误动作,极大的提高了学生的学习效率,降低了错误动作的重复出现频次。

本次课是一节运动参与型的课,也是技能学习和探究学习型的课。
6.采用翻转课堂教学方法,课前通过慕课平台向学生推送本节课的慕课教学内容,引导学生自主学习,并通过平台的交互模块,及时解决学生在慕课学习过程中遇到的各种问题,增进教师与学生沟通,同时也增进了学生之间的交流。

图1 本节课采用翻转课堂教学模式
7.在课堂教学中,让学生了解气排球是一项适合不同年龄、不同性别、不同体质和训练程度的人的运动。通过游戏引入课堂,创设特定情境以激活学生的问题意识,形成基于问题的学习任务;使问题与学生原有认识结构中的经验发生联系,激活新知识。激发学生学习兴趣,帮助学生形成学习动机,提高学生的兴奋性和积极性,同时检验学生课前慕课自学质量,培养学生求知欲望。
8.采用分组教学,组织协作学习,合作学习,开展讨论与交流,并对其过程进行引导;启发和诱导学生自己去发现气排球垫球的方法和规律。学生通过团队学习,积极承担并完成个人责任;相互支持与配合,进行促进性互动;实现有效沟通,建立维护相互信任,增强了学生的团队配合意识,让学生自我体会、自我感悟、自我评价,从而发现问题并解决问题,体验参与的乐趣和成功的喜悦。
9.在传统体育课堂中引入信息化教学技术,通过运动分析软件对比课堂中录制的学生动作练习与慕课提供的标准动作进行时时对比分析,引导学生探究学习,通过学生自主发现问题,进行交流、实践、互相纠正等探索活动,获得知识、技能、情感与态度的发展,特别是探索精神和创新能力的发展。
10.改良教学评价方式,采取慕课在线评估和课堂学生自评、互评、教师评价相结合的方式进行学生课堂表现进行评定。
本堂课中的教法与学法,充分贯彻“以学生为中心”的指导思想,教师做好组织者、引导者、参与者、服务者的角色。课堂上充分采用表扬、鼓励、赞赏的语言,挖掘学生潜力,发展其创造力,使学生练有所悟,悟有所创,从而养成终身体育锻炼的习惯。

(一)课前学习:推送慕课,进行课前预习、测评和作业。
1.预习:发送气排球特有垫球技术的慕课,帮助学生在课前建立运动表象;采用了任务驱动法,教师制定学生分组教学的任务,学生明确目标,预习效果更佳。
2.测评:设计测评题目,其目的一是作为课前预习的督促手段,二则是对学生知识点掌握情况的摸底,辅助学情分析,确定本节课重点、难点;
3.作业:发送作业要求,辅助学情分析。

图2本节课教学过程及运用的教法学法
(二)课堂常规
培养学生的组织纪律观念,让学生清楚本节课的目的与任务,建立体育课堂活动安全意识。
(三)准备部分
1.专项准备活动:结合球的行进间热身练习
变常规的原地徒手操为结合球的行进间热身练习,融入排球专项所需要的柔韧、灵敏、速度以及移动脚步练习,结合球后增强学生的球感,并在抛接球过程中要求学生在不同的位置接球,可以帮助学生在后续各种垫球练习时更容易找准击球点,通过专项准备活动即起到了热身目的,同时又能提高专项身体素质。
游戏引入:“球不落地”
将学生按照水平分组,以排球场两米线、端线、中线为比赛场区,学生纵队在场区内依次将球接住并抛向对方场地。特殊规则:接球后不能移动、允许将球接住;球未接住或出界,对方得一分,每局11分,三局两胜。
①通过创设比赛情境,使学生建立排球比赛过程中,球不能落在本方场地,并尽量让球落在对方场地的基本排球比赛概念;②通过游戏引入,提高学生的兴奋性、团队协作、团队交流能力;③帮助学生提高在移动中找球的能力,为本节课各种垫球技术学习做铺垫。
(四)基本部分
1.学生分组讲解示范
(1)教师回顾课前预习,点评作业完成情况;
(2)学生分组讲解并示范。
按照课前慕课要求,学生自由分组结合,按照本节课教学内容分成5个组,并由各小组一一向大家讲解示范自己小组的授课内容。
教师认真聆听学生讲解、观察动作示范,鼓励并认可学生的讲解示范的正确部分,同时总结并指出学生出现的错误技术动作,强调重点,化解难点。
2.分组练习
学生通过认真聆听学生小组和教师讲解、观察动作示范,模仿练习,体会各种垫球技术的基本要领,学生练习过程中进行互评互纠;教师巡回指导、纠错并利用手机拍摄练习视频,上传到多媒体大屏,组织学生通过专业运动分析软件对学生练习的技术动作和慕课中标准动作进行对比分析,鼓励学生沟通交流,学生自己对技术动作进行自评,找出优势和出现错误动作的原因和纠正的方法。利用信息化工具的及时性、直观性更好的服务于教学。
学生经过几个环节的练习,各种垫球技术得以巩固、提高,最后选出优秀小组进行展示,学生自己评选本节课的垫球之星,让大家在观摩中找差距。
(五)结束部分
在结束放松环节,学生边进行拉伸放松练习,边观看大屏幕,教师将所拍的本节课部分练习内容进行回放,对本堂课教学内容——气排球特有垫球技术的要领进行总结与提炼,总结本课内容,举例点评学生技术动作学习掌握情况,评价本课;充分肯定同学们的课堂表现,鼓励大家在今后的学习与生活中积极参与排球活动,培养团队协作意识。课后布置学生,通过网络、书籍等工具为下一次课提供更好学习和交流平台。






























.

课题内容 |
气排球完整扣球技术 |
授课时间 |
第六周 |
专业班级 |
大一 |
授课教材 |
气排球实用教程 |
课时 |
2 |
授课类型 |
新授课 |
学生数 |
30 |
教学理念 |
扣球技术是排球比赛中重要的得分手段。本节课采用线上线下混合式教学模式,基于“比赛贯穿去课程”教学理念,利用信息技术使学生将内容与实际比赛相结合,创设情境引出新知,通过进阶式任务和设计教学比赛帮助学生自主练习,从而达到了技术习得,比赛素养形成,体育道德教育实现的目的,充分体现了“以赛促学、以赛促练、赛练结合”的教学理念。 |
学情分析 |
教学对象 |
本科生 |
学生特点 |
本节课的教学对象为大一的学生,90%的同学没有排球基础,但有一定的运动基础,热爱排球,生性活泼、好动,模仿力、好奇心强,学习积极性高、勇于竞争、自我表现欲强。 |
教学目标 |
1、认知目标:了解气排球各种扣球技术,提高学生气排球学习的兴趣。 2、技能目标:帮助85%的学生基本掌握气排球扣球技术,20%的学生熟练掌握气排球扣球技术,同时发展快速鞭打、下肢弹跳、核心力量等身体素质。 3、思政目标:发挥学生的创新能力,培养顽强拼搏、永不言弃的女排精神。 |
教学重点 |
扣球的正确手型、击球点、击球部位为本课的教学重点,通过学生示范讲解、大屏动作分析、教师启发总结、师生探讨、口诀讲解等手段使之得以突出。 |
教学难点 |
全身协调发力为本课的难点,通过徒手练习、合作探究、动作视频对比纠错等形式使之得以化解。 |
教学方法 |
教法 |
坚持“以学生为主体,教师为主导”的基本原则,采用情境教学法、启发式教学法、比赛游戏教学法。 |
学法 |
采用自主学习、合作探究的学习方式,使学生将知识与实际比赛相联系,赛中学、赛中练。 |
教学过程 |
环节 |
教学程序的设计 |
教师活动 |
学生活动 |
设计意图 |
课前学习 |
教学平台发布课前任务: 发送气排球特有垫球技术的慕课。 |
向学生发送课前任务单。 ①慕课自学; ②团队提交练习视频; ③线上互评视频作业。 |
①利用手机平台接收任务并完成线上自学任务。 ②小组线上讨论,并拍摄练习视频上传。 ③线上互评 |
①帮助学生在课前建立运动表象;②团队协作③互评加深对动作的分析。 |
 热身活动
|
创设情境分析视频(4 分钟)播放导课视频,引导学生分析接球的重要性。 
|
播放视频,让学生观看,引导学生分析:①接球在比赛中的重要应用;②中国女排在比赛过程中体现出来的女排精神。 |
观看视频,积极分析并回答接球的重要作用。 分析中国女排在比赛中女排精神的体现。 |
通过中国女排精彩的扣球视频,激发了学生学习的兴趣,引导学生自主分析问题,沉浸式地学习中国女排精神。 |
挥臂鞭打合作探究(5 分钟)“打龙尾”游戏 通过游戏复习上节课内容,加快挥臂鞭打速度及击球的准确性。 
翻转教学学生示范讲解 (4 分钟) 
学生从自己角度讲解示范原地起跳动作。 |
①介绍游戏规则;②引导学生分组;③裁判并计分;④比赛时提示学生做好接球,提高挥臂鞭打速度。 ①引导学生讨论并选出课前练习最好的同学; ②鼓励学生对课前自学进行展示,并肯定学生的练习成果 ③引导学生进行补充; ④补充学生遗漏。 |
①讨论游戏玩法并自主分组; ②团队配合完成游戏任务; ③积极总结比赛过程中挥臂鞭打手法的运用。 ①积极讨论并推选同学;②认真聆听同学讲解示范,并跟随练习;③补充同学讲解示范的不足。 |
①复习上节课学习的挥臂鞭打技术;②提升学生学习的兴趣;③帮助学生体验挥臂的重要性;④培养学生规则意识、团结协作、顽强拼搏精神。 ①以学生为中心,引领学生大胆尝试;②学生从自我角度分析动作难点,加深对原地起跳动作的认知。 |
基本部分 |
学生带领一步助跑起跳 (10 分钟) 

在原地起跳的基础上,一步助跑起跳帮助学生体会将水平速度转化为垂直高度。 起跳挥臂腰腹发力(10 分钟) 

“猴子摘桃”空中找球 (6 分钟) 
|
①肯定学生的组织练习方式和动作;②提示学生踏跳动作要快而充分;③引导学生进行补充;④补充学生遗漏。⑤利用大屏录制学生练习;引导学生通过大屏对比分析,找出自己动作的问题;⑥引导学生讨论探究解决错误动作的方法。 ①组织学生复习挥臂鞭打技术;②引导学生尝试原地起跳挥臂鞭打;③引导学生尝试一步助跑起跳后挥臂鞭打;④引导学生讨论助跑起跳后的难点;⑤引导学生讨论探究解决起跳后挥臂不完整问题。 ①介绍游戏规则;②引导学生分组;③组织学生参与游戏;④提示学生体会最高点找球;⑤在游戏中穿插身体素质练习。 |
①跟随领做同学口令认真练习。 ②发现问题及时提出,相互讨论解决。 ③积极思考,讨论; ④认真练习,体会如何接好同伴的抛球; ⑤认真观察自己动作与标准动作的不同之处; ⑥团队协作,探究错误动作解决方法。 ①认真练习,体会如何将助跑起跳结合挥臂鞭打;②团队协作,探究解决助跑起跳后完整挥臂鞭打的方法。 ①聆听并理解规则; ②体会充分助跑起跳; ③体会空中找球。 |
①学生根据线上学习和自己课前练习体会,积极思考,从学生角度出发,自行组织练习活动,提升学生自主学习能力和创造性思维。②通过大屏录制学生练习动作,并在动作分析软件中同屏对比标准动作,帮助学生直观地发现问题。 起跳后接挥臂鞭打对于普通学生存在跳起后挥臂不完整的问题,通过学生相互观察和讨论,自己发现问题,并探究解决问题。 ①将枯燥的技术练习游戏化;②锻炼学生起跳前通过助跑协调人球位置关系能力;起跳后空中找球能力③增强学生团队协作能力。 |
基本部分
|
完整扣球空中击球 (6 分钟) 

|
①网前抛球;②引导学生分组;③指导学生根据抛球确定上步和起跳时机;④提示学生在跳起最高点击球; |
①认真练习,体会上步和起跳的节奏; ②团队协作; ③及时判断来球,最高点击球; ④根据教师提示改进动作。 |
通过前面的一步步练习,组织学生尝试完整扣球技术,体会根据传球确定上步的时机和起跳的节奏,体会最高点击球和完整的挥臂鞭打技术结合。 |
重温经典女排精神 (3 分钟) 
|
①播放 2016 年中国女排里约奥运会夺冠精彩视频。 ② 引导 学 生 总 结扣球的要领。 ③引导学生总结女排精神的内涵。 ④布置课后练习,团队提交两人面对面扣球练习视频,并在下次课前完成线上互评。 |
①认真观看,并讨论接球的要领。 ②欣赏中国女排的精彩攻防。 ③总结女排精神在排球及日常生活、学习中的重要作用。 |
以中国女排经典比赛结束课程,即让学生再次感受到了接球的重要性,又让女排精神潜移默化地深入人心。 |
第六章气排球运动竞赛组织与编排
一、竞赛组织工作
1.赛前的准备工作
(1) 讨论和确定组织方案 (2) 成立组织机构
(3) 制定竞赛规程 (4) 制定工作计划 2. 比赛期间的工作
(1) 进行思想品德教育,明确比赛的目的和任务,端正比赛态度。
(2) 竞赛组和裁判组不断改进工作。如遇特殊情况尽早通知有关部门和比赛队。
(3) 负责场地的工作人员应经常对比赛场地 、 器材和设备进行检查,以保证比赛的 顺利进行。
(4) 治安保卫人员要经常注意赛场秩序,加强治安保卫工作。
(5) 必要时召开领队、教练员、裁判长联席会议,及时处理和解决比赛中所发生的 问题。
3.竞赛的结束工作
(1) 组织和举行闭幕式,颁发奖品。
(2) 总结工作,并向有关上级汇报工作情况。
二、竞赛制度、编排与成绩计算方法
竞赛制度,是为了决定出比赛名次而采用的比赛方法。气排球竞赛中经常采用
的竞赛制度有循环制、淘汰制和混合制3种。
1.循环制
循环制分为单循环、双循环和分组循环等3种方法。
编排方法:
(1) 比赛总场数和轮数的计算方法
单循环比赛总场数= 参赛队数× (参赛队数-1) /2
单循环比赛轮数:若参赛队是单数,则比赛的轮数等于比赛队数。如果参赛队是双数,则比赛的轮数等于比赛的队数减1。
(2) “贝格尔”编排法
第一轮同传统方法;
第二轮首先,最大号数(或0数) 左右规则移动摆放在第一行的左或右边位置上, 如第一轮该数位于右边,第二轮则摆动到左边;第三轮又移动到右边,如此反复。
第二步,将上一轮右下角数字提到该轮第一行同最大数(或0数) 相对应;
第三步,将其它数字按数字同右下角提到第一行的这个数字的前后顺序关系进入位置。例如:7个队比赛的“贝格尔” 编排法编排
第一轮 |
第二轮 |
第三轮 |
第四轮 |
第五轮 |
第六轮 |
第七轮 |
1-0 |
0-5 |
2-0 |
0-6 |
3-0 |
0-7 |
4-0 |
2-7 |
6-4 |
3-1 |
7-5 |
4-2 |
1-6 |
5-3 |
3-6 |
7-3 |
4-7 |
1-4 |
5-1 |
2-5 |
6-2 |
4-5 |
1-2 |
5-6 |
2-3 |
6-7 |
3-4 |
7-1 |
2.气排球运动循环制比赛计分办法
(1) 胜一场得2分,负一场得1分,积分.高者名次列前,弃权取消全部比赛 成绩。
(2) 如遇两队或者两队以上积分相等,则采用以下方法决定名次:A (胜局 总数) / B (负局总数) =C值,C值高者名次列前。
(3) 如C值相等,则采用X (总得分数) / Y (总失分数) =Z值,Z值高者名 次列前。
(4) 如Z值仍相等,则采用抽签的办法决定名次。
2.淘汰赛制
淘汰制分单淘汰和双淘汰两种。竞赛中失败一次即失去比赛机会为单淘
汰,失败两次即失去比赛机会为双淘汰(即“两败淘汰”) 。
(1) 单淘汰赛
概念:运动员(队) 按排定的秩序进行比赛,
胜者进入下一轮,负者淘汰,最后一场比赛的
胜者为冠军,负者为亚军,即为单淘汰赛。
淘汰赛编排的基本方法;
队伍数量按照2的N次方进行 (4、8、16、32、64
队---) ,如果不是2的N次方数编排采用“轮空”、
“抢位”方法进行。
单淘汰赛轮数和场数的计算:
① 单淘汰赛轮数的计算:单淘汰赛的位置数必须为2n 轮数 = n
②单淘汰赛场数的计算 场数= 队 (人) 数— 1

3.混合赛制
混合制就是把一次比赛分为两个阶段,前一阶段采用循环制,后一阶段
采用淘汰制;或前一阶段采用淘汰制,后一阶段采用循环制。通常采用较多的是前者。目前世界上的大型球类比赛就是采用先分组循环,然后再淘汰的混合制。
(1) 同名次赛:例如第一阶段将16个队分成四个小组比赛,决赛时把预赛四个 组的第一名编成一组进行单循环赛,决出1—4名,各小组的第二名编在一起 决出5~8名,其余类推。
(2) 交叉赛:例如第一阶段将16个队分成两个小组比赛,决赛时把各组的前两 名进行交叉比赛,两场胜者进行决赛争夺1、2名,两场负者再相互比赛决出3、 4名,各组3、4名用同样方法决出5—8名,其余类推。
(3) 淘汰附加赛:各个小组进入前16名或前8名的队进行再一轮的淘汰附加赛, 决出1——8或1——16名次,具体方法参见上述淘汰赛内容。

气排球与全球胜任力的交叉融合思考
在气排球竞赛组织与编排这一章中的部分内容可以渗透培养学生的全球胜任力素养。通过气排球竞赛组织与编排的学习,鼓励学生从实践出发,以气排球为依托,请进来,走出去,组织校内外的气排球竞赛交流活动,理论结合实践,发现其中的问题以及学会如何解决,并在整个过程中尊重和倾听他人的意见和建议,加强沟通与协作能力。从全球胜任力角度出发,不仅仅是使学生掌握组织与编排气排球竞赛活动,更要从深层次发现组织与编排气排球竞赛活动对学生全球胜任力的合作能力、沟通能力、批判性思维等核心素养提升的必要性。
第七章气排球运动竞赛规则与裁判方法
一、场地、器材与设备


球网高度:
男子2.10米,女子1.90米。
网高可根据参与者的具体情况,自行规定。
网柱:
安装在离边线外0.5米——1米,中线的延长线上。
球:
球为圆形,面料由柔软的高密度合成革材质制成。颜色为彩色。圆周长为72~78厘米,重量为120~140克,气压为0.15~0.18 千克/平方厘米。
一次比赛所用的球必须是同一性能、同一品牌的球。


二、气排球比赛特殊规则

1.发球区短线
2.教练员限制线
3. 跳发球线
4.发球8秒
5. 被判罚而得1分,轮转由下一轮发球队员发球
6.击球时 (包括第一、二、三次击球) ,允许身体不同部位在一个动作中连续触 球
7.在前场区,完成进攻性击球,球的飞行轨迹必须高于击球点 8.不得对处于本场区内高于球网上沿的对方发球完成进攻性击球。
9.拦网:拦网是队员靠近球网, 在本场区高于球网处阻挡对方来球的行动,与触 球点是否高于球网无关。只有前排队员可以完成拦网。
10.不得进入对方空间拦网 。
11. 除脚以外,身体任何部位触及对方场区即犯规。
12.每局比赛中,每队最多请求两次暂停和 5人次 (五人制) 换人,所换队员不受位置限制。
三、气排球竞赛裁判员工作权力与职责
1.第一裁判员的权力
(1) 自始至终领导该场比赛,对所有裁判员和球队成员行使权力。 比赛中,他的判定为最终判定,如果发现其他裁判员的错误,他有权 改判。他甚至于可撤换不称职的裁判员。
(2) 有权决定涉及比赛的一切问题,包括规则中没有规定的问题。
(3) 不允许对其判定进行任何讨论。但当场上队长提出请求时,他应对判定所依据的规则和规则的执行给予解释。
(4) 如果场上队长表示不同意他的解释,并立即声明保留比赛结束 后将 抗议写在记分表上的权力时,他必须准许。
2.第二裁判员对以下犯规作出判断,鸣哨并做出手势
(1) 网下穿越进入对方场区和空间;
(2) 接发球队位置错误 (根据队员站位其脚的着地部位判定) ;
(3) 队员触及球网下部和第二裁判员一侧的标志杆;
(4) 后排队员完成拦网;
(5) 球触及场外物体;
(6) 球的整体或部分从过网区以外过网,飞入对方场区,或触及 他一侧的标志杆;
(7) 第一裁判员难以观察时,球触及地面。 3.司线员临场工作原则
(1) 加强预判 (2) 抢好角度 (3) 看线等球 (4) 出旗果断
在气排球竞赛规则与裁判方法这一章中的部分内容可以渗透培养学生的全球胜任力素养。如在“气排球竞赛规则”这部分教学内 容中,可以就如何利用规则进行气排球的教学与训练等话题展开讨 论。而在“气排球裁判方法”专题中,裁判的权力则是值得重点关 注的内容。关于这些内容的学习与讨论,从全球胜任力素养提升的 角度出发,通过气排球竞赛规则与裁判方法使学生达成: (1)知识层 面能够促进学生学习和掌握规则; (2)有效提升自身的规则意识以及 比赛中的适应性; (3)培养其以宽容、欣赏、沟通以及合作的态度看 待裁判工作。
compet it ion and refereeing techn iques in cu lt ivat ing students’ global competence. In the sess ion of “air vol leybal l rules”, d iscuss ions wi l l be held to focus on how to ut i l ize ru les to teach and train air vol leybal l as wel l as the rights of referees. From the perspect ive of global competence, through the learn ing and d iscuss ion of these contents of the air vol leybal l ru les and refereeing, it wi l l teach students the ski l ls of learn ing, improve their innovat ion and creativity, and enhance their adaptabi l ity from the knowledge aspect. They wi l l also learn to appreciate the referees work with the att itudes of empathy, appreciat ion, commun icat ion and col laborat ion.






































米兰milan中国《大学体育-太极柔力球》
教学案例(一)
一、课程一般信息
课程名称 |
《太极柔力球》 |
课程类型 |
公共课 |
主 题 |
《健康促进理论:科学减脂》 |
主讲教师 |
张艳青 |
教学对象 |
非体育专业大一大二学生 |
部 门 |
米兰milan |
二、学情分析
学生基本情况: 本章节属于第四周的教学内容,学生已对太极柔力球课有了初步认知。少部分学生是慕名而来,自觉主动性、参与度非常好。但因柔力球属于新兴民族项目,缺乏动感,逾八成学生选课原因是客观上的无奈,因此部分学生在很长一段时间里一直存在消极与抵触情绪,表现在课堂上就是漫不经心。学生对体育课的偏见根深蒂固,普遍认为体育课的任务就是让身体动一动,学习成绩就是运动成绩,因此课前预习、课堂互动、小组任务、课外锻炼的参与度普遍不高。 学生从第一次踏入学校就开始接触健康教育,因此对健康的基本概念和重要性都耳熟能详,如果只是进行概念性介绍和理论讲解,很难激发学生学习热情,难以获得预期教学效果。 学生具有获取健康、追求内外美的内在需求,所掌握的健康理论不足以支撑日常健身所需,而大学体育(公共基础课)课堂中缺乏专门的健康促进理论,学生只能通过网络随机获取缺乏系统性、权威性、科学性的碎片化健身知识和方法。 学生知行不合一。知多行少,表现为对健康生活方式的内涵认知度很高,对健康生活方式的践行却一般。 学生对手机依赖性大。在日常课堂中,大部分学生只要一得闲就不自觉翻手机。 学生自主学练普遍意识不足。表现为课前预习意识薄弱或质量不高,课外锻炼频率低,能够在课余主动复习课堂所学的人数少之又少。 学生对翻转课堂模式的学习经验各有不同。少部分学生经历过翻转会比较积极主动,大部分学生不了解翻转课堂的内涵,会存在好奇、麻木、反感等情绪。 学生课前准备: 学生在老师的安排与提示下完成线上慕课学习和课前测验,并知悉本节所学主要内容、教学流程、教学要求及教学评价要点。 |
三、教学目标设计
通过本节课的学习,将达到以下目标: 1、认知目标 (1)学生能够理解并辨别肥胖的危害和产生原因。 (2)学生能够理解并识别科学减脂理论及方法。 2、能力目标 (1)能够准确测量并计算出自己和他人的BMI及腰围,并初步评估自己的体重类型。 (2)学生能够为自己制定一份可行的体重管理方案。 (3)学生能够清晰准确表达自己的观点,并初步具备肥胖知识的科普能力。 (4)针对自己或他人的体重管理提出自己的初步建议,会运用相关指标检测减脂效果和监控运动强度。 3、情感态度和价值观目标 (1)建立预防大于治疗的健康理念,并内化构建成自律意识,在日常生活中积极践行健康生活方式,养成运动习惯。 (2)树立正确的健康观,主动锻炼,做自己健康的第一责任人。 (3)提高情怀,尽孝爱国,自我修养。 |
四、教学重难点及处理
教学重点:科学减脂的原理 教学重点的解决策略: (1)采用课前班级群提示、课前预习任务布置、课堂流程介绍、课前测验、课前问卷等教学策略,引导学生进行课前预习,对科学减脂理论建立初步认知。 (2)采用翻转课堂,固定主题自由选题,让学生成为课堂主角,以强化所学、深化认知,提高能力。 (3)设计体验式实践环节,增强学习获得感。 (4)营造思考提问氛围,增加科学减脂理论的学习深度与广度。 教学难点:学生健康内驱力的激发和高级思维的调动。 教学难点的解决策略: (1)播放相关视频、让学生参与讲述,增强健康危机感。 (2)对减脂常见问题进行讨论、辨析,促进思辨。 (3)发布小组任务(制定减脂训练计划),提高学生解决健身实践问题的能力。 |
五、教学媒体与资源选择
1、教学媒体: 微信/QQ群、学习通、中国大学生慕课平台、电脑、手机、智慧教室。 2、教学资源: (1)中国大学生慕课: 华中师范大学-李睿《卡路里与健康:教你如何科学减脂》 (2)学术论文: 王立详等《中华精准健康传播专家共识之公民体重管理卫生健康指南》 (3)PPT:《健康促进理论:科学减脂》 (4)学习通《大学体育-太极柔力球》课程试题库、问卷库。 |
六、课堂教学创新点
七、课程思政元素体现及切入点
本课程蕴含的思政元素有:责任担当、家国情怀。 通过对肥胖危害的阐述增加学生对减脂的内驱力,引导学生明晰当代社会幸福生活的来之不易,自律理性生活,做一个有情怀、有担当的人,进而激发学生的家国情怀和责任担当意识。引导学生明确健康是民族昌盛和国家富强的重要标志,预防是最经济最有效的健康策略。健康中国,健康有我。科学减脂从现在开始,爱家人从关爱并维持自己和家人健康开始。 |
八、教学过程设计(包含信息化教学设计)
九、课件或板书设计
课件设计: 精简内容,突出重点。以视频、图片等形式展示主要教学内容,力求达到优化教学过程,激发学习兴趣,辅助呈现减脂的危害、原理、方法的目的。 板书设计: 原则:以上课过程为主线,与课件有效融合,突出重难点。 具体:BMI、腰围、总能耗 =基础代谢+体力活动+食物热效+生长发育 |
十、教学评价与反思等
教学评价与反思: 课前设计课堂问卷、随堂测验、主题讨论、小组讨论、课堂问答、课堂师生研讨等形式,课中实施后获取学习反馈,评价学习效果,进一步调整教学策略。 课后对课堂教学情况与线上数据进行梳理与深入分析,对学生学习掌握情况、困难点、较容易掌握的地方进行再归纳。 对教学理念、教学组织过程、教学策略类型与应用时机、学生课堂即时反应学习能力提升、师生互动与课堂活跃度参与度等情况进行总结反思。 附录:《太极柔力球》课程评价指标与权重 
|
米兰milan中国《大学体育-太极柔力球》
教学案例(二)
一、课程一般信息
课程名称 |
《太极柔力球》 |
课程类型 |
公共课 |
主 题 |
《太极柔力球发球技术》 |
主讲教师 |
张艳青 |
教学对象 |
非体育专业大一本科生 |
部 门 |
米兰milan |
二、学情分析
学生基本情况: 学生已学习了花式柔力球基本组合,具备一定的控球能力,对抛接发力及技巧有一定认知。其中,花式基本组合中的起势-抛球入拍对网式发球弧形引化技术结构的理解和掌握具有正向迁移作用。但学生动作的规范性、熟练性不足,掉球多,轨迹饱满度圆润度欠缺,周身协调用力不足。 学生对太极文化很感兴趣,但理解不深,加上持拍球类运动的击打观念和以往运动经历(羽毛球、网球、乒乓球)的惯性暗示,让学生在球入拍和出拍时易出现硬性击打或引划不足等违例现象。 部分学生由于性格原因(倔强、着急等),对弧形引化动作会产生反感情绪,在多次尝试都无法顺畅纳球入拍后,会产生敌对心理或放弃练习。 大部分学生喜欢双人互抛,还没学习网式之前就有学生乐此不疲的进行双人对练了。 学生课前准备: 学生已在老师的安排下完成了网式柔力球发球技术线上慕课的学习和课前测验,知悉了本节所学内容、教学流程、教学要求及教学评价要点。 需引导的地方: 学生的模仿能力强,但表达意愿不高,喜欢跟随老师练习,不擅长提问和主动演示。针对这个情况,老师在课前任务中提出明确要求,让学生课前学习技术动作的同时还需完成线上小组讨论,提交小组讨论结果。通过教学设计、教学评价创立渠道激发学生主动参与意识,培养小组合作沟通能力、鼓励当众表达。 学生需自备器材,但部分学生因为某些原因总会忘记带,因此教师除课前提示外还需多备柔力球拍2-5副(以备不时之需)。 |
三、教学目标设计
1、认知目标 (1)学生能够用自己的话清晰说出发球技术要领与违例动作; (2)学生能表述出太极柔力球场地与羽毛球场地的关系; 2、能力目标 (1)通过翻转课堂模式,信息化技术的应用,提高学生信息素养、自主学习能力。 (2)通过柔力球技术的学练、体能训练,提高学生协调性和心肺功能,增强学生体质。 (3)通过课前问卷、线上互动、分组游戏、角色扮演等激发学生学习兴趣,检测学习效果,提高课堂参与度和运动技术评判能力,提升学生综合素养。 3、情感态度和价值观目标 (1)通过小组合作培养学生团结协作、勇于担当、奋斗有我的精神。 (2)通过体能与技能训练磨炼学生意志,培养永不言弃的精神。 (3)弘扬中国传统文化,激发学生民族自豪感,培育爱国情怀。 (4)通过翻转课堂,生生互评,培育表达能力和批判性思维。 (5)练球先练心,帮助学生树立礼仪观、生命观,做自己健康的第一责任人,培养终身体育意识。 |
四、教学重难点及处理
教学重点:发球技术 这是太极柔力球的第八次课。 发球技术是网式柔力球的基本技术,是一场比赛中每一分的开始,唯一不受对方制约和限制的技术,可以最大限度地施展自己的战术意图,具有极大的自主性。 发球技术是用侧边框将球引入拍后,顺势做弧形引化动作,引化轨迹要圆润饱满,自然顺畅,利用腿和腰的蹬转合力及手臂继续挥摆的力量,将球柔和准确地沿球拍侧边框抛出球拍。掌握了发球技术就可以参加实战对练,初尝网式柔力球的乐趣,也更容易掌握接球技术。 该技术中蕴含的“弧形引化”是太极柔力球技术的精髓,是最具特色的技术,是“太极”思想“柔”文化的物化,体现了整体观。对“太极”和“柔”的理解程度会影响发球技术一气呵成理念的理解。 教学难点:两个一、三个要素的弧形引化技术 教学重难点的解决策略: (1)课堂导入部分引入“柔”讲解,启发学生思考。 (2)运用翻转课堂,先让学生用自己所学讲解技术要领与注意事项,其他学生补充,老师评价,引导学生思考,建立正确的动作意象,学生分组巩固练习。 (3)运用视频拍摄技术和生生互评法,进行技术动作的即时反馈与个性化纠错。 (4)通过正误对比、慢速示范、重点提示与停顿讲解的方式,让学生感知控球技术 (5)通过角色扮演,让学生评判发球技术,老师引导点评,在运动员、裁判员角色互换的过程中,建立更加清晰明确的技术认知。 |
五、教学媒体与资源选择
教学媒体:智慧教室、手机。 教学资源:《太极柔力球》慕课、学习通app、太极柔力球发球技术ppt、学习通线上班级、线下教学过程视频拍摄/直播/回放记录。 使用方法: 1、课前使用(线上学习): 在微信群及学习通班级群发放通知。 预习与自学:《太极柔力球-第三章网式柔力球基本技术-3.1发球技术》 使用目的:课前预习,检测预习效果,课堂中翻转。 2、课堂使用(线下学习): 学习通签到。 手机拍摄翻转课堂技术练习环节,通过电脑与投影仪投放,给学生分析讲解技术动作。 手机录制翻转课堂讲解环节,方便学生课后回看。 3、课后使用(线上学习): 在学习通上发放主题讨论,引导学生自我反思。 供学生线下自主学习。 |
六、课堂教学创新点
1、翻转课堂 改变老师示范学生跟随的灌输式教学,实行学生讲-老师评-学生提问-老师答疑的翻转课堂,激活学生内驱力,培养学生高阶思维与表达能力。课堂上,老师对学生表现进行引导与评价,启发思维,传授方法,规范技术,提升能力,塑造班风,增加师生互动深度。通过翻转,帮助学生形成要锻炼、会锻炼、懂锻炼、能评价或指导他人锻炼的潜意识和能力。 2、课堂信息化程度高(混合式教学) 教学全程使用信息化教学辅助手段。课前进行慕课自学,课堂进行签到、小组讨论、主题讨论、选人、抢答、课后签到、随堂测验,课堂直播式回放、学生关键技术动作视频回馈,课后进行作业提交、群聊互动答疑、课外锻炼打卡等,为学生随时、随地、随心、系统化学习提供可能,创造条件。通过信息技术的引入与教学过程的再设计,将课堂中的学生表现、教师教学流程实现数据化、可视化、可回看,有利于学生及时获取多维度的学习反馈。 3、身心双修 太极柔力球课堂要野蛮体魄,更要文明精神,练球先练心,把道德修养和价值观教育贯穿于教学全过程,重视班风建设,引入传统文化“太极”“柔”等知识,通过具体的运行形式启发学生心智,提升民族自信,在锻炼身体的同时感悟并传承传统文化。 课堂上既有汗水又有笑声,通过科学合理的课堂密度与运动强度,实现对学生顽强意志、灵活多变、创新能力的塑造,激发学生的家国情怀,引导学生爱国敬业、勇于拼搏、敢于担当、奋斗有我、主动锻炼,做自己身体的第一责任人。 4、“以生为本,以学为本” 从学生视角对课程内容和组织形式进行设计,尊重学生,积极听取学生意见,经常性调研,让学生参与到课程目标、主题讨论中来,下放权利给学生,让学生有更多的主动权与参与感,培养学生的责任与担当,引导学生树立正确的生命观、健康观,在线上线下相结合的混合式教学中“享受乐趣、增强体质、健全人格、锻炼意识”。 5、多元评价,过程性评价比重增大 结合信息技术,采用过程性和终结性相结合的多元评价,通过发挥教学评价的导向、激励作用,鼓励学生自主学习、自主锻炼、积极互动、积极发言,通过教师评价、学生自评和互评,帮助学生及时发现问题、调整学习策略、激发学习内在动机,提高学习效率。将以往的终结性评价由70%降低为55%,过程性评价为45%。引导学生重视学习过程,提高课堂参与度。 |
七、课程思政元素体现及切入点
本课程蕴含的思政元素有:民族自信、家国情怀、文明、法制观念。 民族自信,通过在太极柔力球发球学练过程中引入“太极”“柔”文化的讲解,加深学生对所学技术文化内涵的认知与理解,通过《道德经》在世界范围的影响力,来激发学生的民族自信与民族自豪感。 家国情怀,通过发球发力时周身协调用力来启发学生的家国情怀与责任担当,做自己健康的第一责任人。 文明,通过全程浸入式的课堂礼仪-持械礼与鞠躬礼,让学生的文明行为成为习惯。 规则意识、法制观念,通过发球违例动作讲解与网式柔力球竞赛规则的引入,来启发学生要有规则意识,在做事情之前需要搞懂哪些能做哪些不能做,规则中规定不能做的事情应避免。 |
八、教学过程设计(包含信息化教学设计)
教学过程 |
教师活动 |
学生活动 |
形式 |
教学目的 |
课前 |
课前2-5天通过微信群\学习通,发布上课内容、课前任务、上课要求、上课流程 |
完成课前任务,了解上课要求、明确上课流程 |
线上 |
1.为课堂翻转做准备; 2.让学生有的放矢地准备。 |
课前10分钟开始学习通签到 |
签到、自由活动、小组交流等 |
引导学生诚实、自律、守时 |
课堂教学50min |
准备部分10min |
课堂常规2min |
1.上课礼仪 2.线上学习情况反馈 3.通过介绍传统文化导入本课内容 4.宣布上课流程 |
1.行持械礼 2.参与课堂互动 3.听老师讲解并思考 |
线下 |
1.营造仪式感,引导学生尽快进入学习状态。 2.激活纪律意识,守时、守信,塑造良好班风。 3.让学生认真对待线上学习; 4.激发学生民族自豪感,增强民族自信,提出让学生体会蕴含传统文化的运动形式的教学期望,为后续绕环技术教学与常见错误讲解埋下伏笔; 5.让学生明确本节课的重点与难点。 |
热身8min |
1.介绍并组织“丢沙包”游戏 2.2.带领学生做关节热身操 3.组织学生复习花式基本组合 |
1.玩“抱团”游戏 2.跟随音乐/自己喊口令复习 3.跟随老师进行关节热身 |
1.激发学习热情、激活大脑和大肌肉群,为后续教学做好身心准备,避免损伤; 2.温故而知新,为新技术的掌握夯实基础; 3.提高学生课堂存在感与集体归属感。 |
基本部分35min |
翻转活动一5+5min |
1.介绍网式柔力球特点,导入翻转内容 2.引导进行网式柔力球场地的讲解 3.评价学生讲解情况,回答学生提问 4.提出思考题“如何控制发球的方向与远度” 5.引导学生进行网式发球的核心技术-弧形引化的讲解 6.评价学生讲解情况,强调弧形引化技术要领与常见错误 7.分析持拍球类项目击球特点,讲述“迎” |
1.讲解场地与弧形引化技术 2.讲解“弧形引化”技术 3.积极参与课堂互动 4.思考“如何控制发球的方向与力度”并给出初步答案 5.与老师一起探讨并总结持拍球类项目的击球特点 |
1.培养学生归纳、总结、表达能力; 2.提高学生自学、自炼、自评、评他的能力; 3.激发兴趣,体验乐趣,带着问题学与练,创建活力课堂,锻炼学生批判性思维; 4.培养学生法制观念、家国情怀、担当意识; 5.帮助学生明白(柔力球与羽毛球等)接球方式的不同; 6.增加课堂趣味性,培养学生团队合作精神; 7.及时反馈学习效果,帮助学生明确正确的挥拍轨迹和发力方式,建立正确的动力定型; 8.体会以退为进、以柔克刚的反向思维。 |
翻转活动二15min |
1.引导学生讲解发球技术与注意事项 2.点评 3.引导学生练习 4.手机拍摄学生练习情况 5.对学生练习情况进行总结与纠错 6.引导学生思考与巩固练习 |
1.讲解与示范发球技术 2.听取老师点评 3.练习 4.观看自己的练习视频并表达观点或疑问 |
角色扮演6min |
1.介绍“角色扮演”内容与规则 2.组织学生进行技术展示与评判 3.引导学生评价 |
1.听取“角色扮演”规则 2.小组讨论,确定分工 3.参与“角色扮演”,进行技术展示及评价同学技术动作 4.形成及修正自己对发球技术的理解 |
1.检验学生发球技术掌握情况; 2.加深学生对发球技术的理解,学会评价并纠正动作; 3.锻炼学生换位思考能力; 4.培育学生敢于拼搏、勇于担当的意志; 5.提高学生抗压能力,能够心平气和地面对竞争,公平、公正地进行评判,能够用正确的心态面对失败。 |
体能训练4min |
1.介绍体能训练内容:(平板支撑变体+击掌)*2 2.示范体能训练方法 3.讲解体能训练要求 |
两人一组进行体能训练 |
1.增强学生体质,提高学生核心力量和下肢力量; 2.磨练学生意识,在体能挑战中按质按量不打折扣地完成课堂任务; 3.学会合作,让学生在双人配合中相互鼓励,共同完成任务,体验友谊与集体归属感; 4.在汗水中体验乐趣。 |
结束部分5min |
放松3min |
讲解并示范放松方法 |
1.跟随老师讲解一起放松 2.两列纵队相互捏肩、推背、放松下肢 |
1.缓解局部肌肉紧张; 2.为学生科学锻炼提供模板,让学生明确运动开始要有热身,结束要有放松; 3.体会集体放松的乐趣,释放精神压力,消除身心疲劳 |
小结2min |
1.梳理本课内容,总结本课重难点 2.评价学生随堂表现 3.布置课后作业 |
1.回顾发球技术的重难点 2.了解课后作业内容与要求 3.行下课礼 |
1.帮助学生明确学习重点; 2.营造活力课堂氛围,鼓励提问与互动; 3.督促学生进行课外锻炼,促进终身体育意识与锻炼习惯的养成。 |
课后反馈 (不限时) |
1.收集、总结主题讨论核心思想 2.批阅课后作业,总结作业中的优缺点 |
1.参与主题讨论 2.完成课后作业 |
线上 |
1.获取学习反馈; 2.记录和评价学习行为; 3.修正教学策略。 |
|
九、课件或板书设计
课件设计: 精简内容,突出重点。以视频、图片等形式展示主要教学内容,力求达到优化教学过程,激发学习兴趣,辅助呈现运动轨迹和效果的目的。 板书设计: 以上课过程为主线,与课件有效融合,突出重难点。 |
十、教学评价与反思等
教学评价与反思: 课前设计课堂问卷、随堂测验、主题讨论、小组讨论、课堂问答、课堂师生研讨等形式,课中实施后获取学习反馈,评价学习效果,进一步调整教学策略。 课后对课堂教学情况与线上数据进行梳理与深入分析,对学生学习掌握情况、困难点进行再归纳。 对教学理念、教学组织过程、教学策略类型与应用时机、学生课堂即时反应、学习能力提升、师生互动与课堂活跃度参与度等情况进行总结反思。 附:太极柔力球成绩构成与评定方式:
成绩构成100% |
100 |
成绩评定要素 |
成绩评定方式 |
平时成绩(45%) |
5 |
线上任务点完成 |
学习通数据统计 |
5 |
线上测验得分 |
5 |
线上互动(主题讨论、小组活动等) |
5 |
考勤 |
学习通及线下考勤记录 |
7 |
线下课堂参与度 |
老师评定 |
7 |
作业 |
5 |
总结 |
6 |
课外锻炼打卡成绩 |
身体素质成绩(25%) |
15 |
有氧耐力 |
按国家体质测试标准进行评定 |
10 |
力量或速度 |
专项技术成绩(30%) |
10 |
花式小组 |
小组互评40+个人自评20+老师评定40 |
10 |
花式单人 |
老师评定 |
10 |
网式单人 |
|
米兰milan中国《大学体育-太极柔力球》
教学案例(三)
一、课程一般信息
课程名称 |
《太极柔力球》 |
课程类型 |
公共课 |
主 题 |
《太极柔力球绕环技术》 |
主讲教师 |
张艳青 |
教学对象 |
非体育专业大一本科生 |
部 门 |
米兰milan |
二、学情分析
学生基本情况: 学生已学习了太极柔力球花式项目的技术特点、基本握拍、基本礼仪、起势与收势、左右摆动、四方摆动,对太极柔力球技术有了初步认知和体会,动作规范性较差,熟练度不足,尚处于动作的泛化和分化阶段,而今天的绕环是在摆动的基础上进行的,因此还需继续巩固已学技术动作。 大部分学生认为太极就是太极拳,对太极柔力球的技术动作充满了幻想,对太极柔力球文化内涵缺乏了解,需引入太极、柔等传统文化并进一步阐明太极、太极拳、太极柔力球的关系,以帮助学生理解今天所学。 学生习惯了羽毛球等持拍球类项目直来直去的用力,对蕴含“太极思想”的绕环技术,即:通过S弯或圆弧运动实现悄无声息转化理解不足,在初学阶段容易产生折点、顿点、幅度小及所画圆弧不对称不饱满的错误动作。在课堂中还需对太极柔力球中蕴含的“以和为贵”的太极文化进行讲解。 学生的模仿能力强,习惯了被动灌输式学习,表达意愿不高,课堂活跃度一般,大部分学生需要老师点名才会主动表达自己,展示自己。老师需要提出明确要求,创设情境,耐心引导,循序渐进激发学生的自觉主动意识和表达能力。 学生课前准备: 学生已在老师的安排下完成了线上慕课学习和课前测验,知悉了本节所学内容、教学流程、教学要求及教学评价要点。 其他: 学生需自备器材,但部分学生因为某些原因总会忘记带,因此教师除课前提示外还需多备柔力球拍2-5副(以备不时之需)。 |
三、教学目标设计
1、认知目标 (1)通过翻转课堂模式,学生能够用自己的话清晰说出绕环技术要领与注意事项; (2)通过“太极”“柔”文化的引入,学生们皆能知晓中国传统文化经典之作《周易》《道德经》,并能知悉太极柔力球的运动形式-圆与变背后的文化内涵; 2、能力目标 (1)通过翻转课堂,线上工具的应用,激发和培育学生自主学习意识和能力,能够轻松做出规范正确的绕环技术。 (2)通过合理安排运动密度,增强学生心肺功能,提高学生协调能力。 (3)通过课前问卷、线上互动、分组游戏、分组创编等激发学生学习兴趣,提高课堂参与度,提高创新能力。 3、情感态度和价值观目标 (1)通过小组合作,培养学生合作学习意识和集体主义、吃苦耐劳、不怕失败、勇于担当、奋斗有我的精神。 (2)通过“太极”的讲述,弘扬中国传统文化和社会主义核心价值观,激发学生的民族自豪感,培育爱国情怀,根植和谐理念。 (3)通过翻转课堂上学生的讲解提问、生生互评,提高学生获取信息、整合信息、公众表达等能力。 (4)练球先练心,重视德行修养,树立正确的健康观,主动锻炼,做自己健康的第一责任人,培养身心兼修的终身体育意识。 |
四、教学重难点及处理
教学重点:绕环技术 这是太极柔力球实践课的第三次课,包括八字绕环、正反绕环两个动作。 八字绕环是在身体两侧用球拍划了一个与地面成一定角度的阿拉伯数字“8”。具有立体化特点,需要具备一定的空间理解力与肢体控球力。八字绕环技术包括两种:正八字(今天所学)和“反八字”(起拍位置和运拍轨迹与正八字正好相反),初学者容易弄混。在教学中需强调一下它们的区别。 正反绕环是在摆动技术的基础上将柔力球拍的运动轨迹变成一个完整、饱满的圆。该项技术在学习初期非常不容易控球,甚至容易出现翻拍的错误动作。正反绕环是在八字绕环和左右摆动的基础上进行的,因此在课的前段需要把这层逻辑关系说清楚,并对摆动技术进行复习后,再慢速练习,让学生形成清晰的动作认知及规范的运拍轨迹。 教学重点的解决策略: 运用翻转课堂,先让学生用自己所学讲解技术要领与注意事项,其他学生补充,老师评价,引导学生思考,建立正确的技术动作概念,学生分组巩固练习。 运用视频拍摄技术和生生互评法,进行技术动作的即时反馈与个性化纠错。 通过启发法,减难法,让学生自己进行小幅度的“8”字绕环和正反绕环,明确正确的动作轨迹。 通过太极文化、绕环技术要领的讲解,学生代表示范及老师慢速示范与间接,让学生建立正确的发力认知和规范的动作意象。 通过完整多次重复练习,巩固正确的技术动作。 通过2人一组的相互喊口令互相纠错的小组练习,激发学生学习兴趣,提高学习效率。 教学难点:八字绕环与正反绕环的正确轨迹和控球能力 教学难点的解决策略: 通过翻转课堂过程中老师的引导和评述建立正确的动作意象。 通过正误对比、慢速示范、重点提示与停顿讲解的方式,让学生感知控球技术。 通过手持球慢速-空拍正常速度-持拍带球慢速-带球正常速度的流程来提高学生的控球能力。 |
五、教学媒体与资源选择
教学媒体:微信、学习通、电脑、投影仪、手机。 教学资源:《太极柔力球》慕课、学习通app、太极柔力球绕环技术ppt、学习通线上班级、线下教学过程的直播/回放记录。 使用方法: 1、课前使用(线上学习): 在微信群及学习通班级群发放通知。 预习与自学:《太极柔力球-第二章花式柔力球基本技术-2.2绕环技术》 使用目的:课前预习,检测预习效果,课堂中翻转。 4、课堂使用(线下学习): 学习通签到。 手机拍摄学生练习环节,通过电脑与投影仪投放,给学生分析讲解技术动作。 手机录制翻转课堂讲解环节和学习成果展示环节,放在学习通平台或微信群,方便学生课后自由回看。 3、课后使用(线上学习): 在学习通上进行课后作业布置。 在学习通上设置课堂主体讨论。 供学生线下自主学习。 |
六、课堂教学创新点
1、翻转课堂 改变老师示范学生跟随的灌输式教学,实行学生讲-老师评-学生提问-老师答疑的翻转课堂,激活学生内驱力,培养学生高阶思维与表达能力。课堂上,老师对学生表现进行引导与评价,启发思维,传授方法,规范技术,提升能力,塑造班风,增加师生互动深度。通过翻转,帮助学生形成要锻炼、会锻炼、懂锻炼、能评价或指导他人锻炼的潜意识和能力。 2、课堂信息化程度高(混合式教学) 教学全程使用信息化教学辅助手段。课前进行慕课自学,课堂进行签到、小组讨论、主题讨论、选人、抢答、课后签到、随堂测验,课堂直播式回放、学生关键技术动作视频回馈,课后进行作业提交、群聊互动答疑、课外锻炼打卡等,为学生随时、随地、随心、系统化学习提供可能,创造条件。通过信息技术的引入与教学过程的再设计,将课堂中的学生表现、教师教学流程实现数据化、可视化、可回看,有利于学生及时获取多维度的学习反馈。 5、身心双修 太极柔力球课堂要野蛮体魄,更要文明精神,练球先练心,把道德修养和价值观教育贯穿于教学全过程,重视班风建设,引入传统文化“太极”“柔”等知识,通过具体的运行形式启发学生心智,提升民族自信,在锻炼身体的同时感悟并传承传统文化。 课堂上既有汗水又有笑声,通过科学合理的课堂密度与运动强度,实现对学生顽强意志、灵活多变、创新能力的塑造,激发学生的家国情怀,引导学生爱国敬业、勇于拼搏、敢于担当、奋斗有我、主动锻炼,做自己身体的第一责任人。 4、“以生为本,以学为本” 从学生视角对课程内容和组织形式进行设计,尊重学生,积极听取学生意见,经常性调研,让学生参与到课程目标、主题讨论中来,下放权利给学生,让学生有更多的主动权与参与感,培养学生的责任与担当,引导学生树立正确的生命观、健康观,在线上线下相结合的混合式教学中“享受乐趣、增强体质、健全人格、锻炼意识”。 5、多元评价,过程性评价比重增大 结合信息技术,采用过程性和终结性相结合的多元评价,通过发挥教学评价的导向、激励作用,鼓励学生自主学习、自主锻炼、积极互动、积极发言,通过教师评价、学生自评和互评,帮助学生及时发现问题、调整学习策略、激发学习内在动机,提高学习效率。将以往的终结性评价由70%降低为55%,过程性评价为45%。引导学生重视学习过程,提高课堂参与度。 |
七、课程思政元素体现及切入点
本课程蕴含的思政元素有:文明、家国情怀、和谐。 文明,通过全程浸入式的课堂礼仪-持械礼与鞠躬礼,让敬人、与人为善的文明行为成为学生的习惯。 家国情怀,通过绕环技术的发力要领讲解,启发学生的家国情怀和责任担当意识,应有“齐家、治国、平天下的志向”,但应该从当下开始,从自己开始,脚踏实地,先修身,做自己健康的第一责任人。 和谐,通过蕴含“以和为贵”的太极智慧的绕环技术注意事项的讲解,引导学生思考矛盾双方变化的形式,启发学生的认知:通过没有折点的圆弧运动可以实现悄无声息的矛盾双方的变化。通过引入“易有太极,是生两仪,两仪生四象,四象生八卦”,引导学生正确认识矛盾双方,接纳世界的多样,在多样性中和谐共处。这些认知,反过来也有助于完成左右对称的没有折点的圆润流畅的绕环技术。 |
八、教学过程设计(包含信息化教学设计)
教学过程 |
教师活动 |
学生活动 |
形式 |
教学目的 |
课前 (不限时) |
课前2-5天通过微信群\学习通,发布上课内容、课前任务、上课流程 |
完成课前任务,了解上课要求、明确上课流程 |
线上 |
1.为课堂翻转做准备; 2.让学生有的放矢地准备。 |
课前10分钟开始学习通签到 |
签到、自由活动 |
引导学生诚实、自律、守时 |
课堂教学50min |
准备部分10min |
课堂常规2min |
1.集合 2.上课礼仪 3.线上学习反馈 4.通过介绍传统文化来导入本课内容,宣布上课要求 |
1.行持械礼 2.参与课堂互动 3.听老师讲解并思考 |
线下 |
1.文明礼貌,以礼待人 2.激活纪律意识,守时、守信,塑造良好班风。 3.让学生认真对待线上学习; 4.激发学生民族自豪感,增强民族自信,提出让学生体会蕴含传统文化的运动形式的教学期望,为后续绕环技术教学与常见错误讲解埋下伏笔; 5.让学生明确重点与难点。 |
热身8min |
1.介绍并组织“抱团”游戏 2.组织学生复习上次课所学的太极柔力球基本技术:左右摆动和四方摆动 3.带领学生做关节热身操 |
1.玩“抱团”游戏 2.跟随音乐/自己喊口令复习 3.跟随老师进行关节热身 |
1.激发学习热情、激活大脑和大肌肉群,为后续教学做好身心准备,避免损伤; 2.温故而知新,为新技术的掌握夯实基础; 3.提高学生课堂存在感与集体归属感。 |
基本部分35min |
翻转活动一15min |
1.导入 2.2.引导学生进行八字绕环技术的讲解,评价学生表现 3.3.个别纠错 4.手机拍摄学生练习情况 5.总结评价学生技术掌握情况,集体纠错 6.引导学生巩固练习 |
1.讲解八字绕环技术 2.点评同学表现 3.小组活动-练习八字绕环技术 4.在老师引导下观看自己的练习视频并思考 5.与老师、同学积极互动,积极练习并表达自己的疑问和观点 |
1.培养学生团队合作能力; 2.提高学生归纳、总结、表达的能力以及自学、自炼、自评、评他的能力,学会批判性思维; 3.及时反馈学习效果,帮助学生明确正确的挥拍轨迹和发力方式,建立正确的动力定型; 4.让学生体会“以和为贵”的太极思想,感受传统文化太极的奥妙,激发民族自豪感; 5.培养角色意识,激发家国情怀,拥有责任和担当,做自己健康和生活的第一责任人。 |
翻转活动二9min |
1.引导学生讲解正反绕环技术 2.根据学生讲解情况点评 3.引导学生练习 4.巡回指导并纠错 |
1.讲解正反绕环技术 2.小组活动-练习正反绕环 3.主动融入团队,积极互帮互助 4.在老师引导下观看自己的练习视频并思考 5.评价练习视频中的技术动作并表达自己的想法 |
技术竞赛7min |
1.介绍“技术竞赛”内容与规则 2.组织学生进行技术展示与评判 3.拍摄学生“技术竞赛”过程时的完整视频,并发送到微信群 4.引导学生点评 |
1.听取“技术竞赛”规则 2.参与“技术竞赛”,进行技术展示及评价同学技术动作 3.形成及修正自己对绕环技术的理解 |
1.检验学生绕环技术的掌握情况; 2.加深学生对绕环技术的理解,学会评价并纠正自己及他人的绕环技术; 3.锻炼学生换位思考能力。 |
体能训练4min |
1.介绍体能训练内容:(平板支撑变体+击掌)*2 2.示范体能训练方法 3.讲解体能训练要求 |
两人一组进行体能训练 |
1.增强学生体质,提高学生核心力量和下肢力量; 2.磨练学生意识,在体能挑战中按质按量不打折扣地完成课堂任务; 3.学会合作,让学生在双人配合中相互鼓励,共同完成任务,体验友谊与集体归属感; 4.在汗水中体验乐趣。 |
结束部分5min |
放松3min |
讲解并示范放松方法 |
1.跟随老师讲解一起放松 2.两列纵队相互捏肩、推背、放松下肢 |
1.缓解局部肌肉紧张; 2.帮助学生树立健康第一、安全第一、科学运动的意识,为学生科学锻炼提供模板,让学生明确运动开始要有热身,结束要有放松; 3.体会集体放松的乐趣,释放精神压力,消除身心疲劳。 |
小结2min |
1.梳理本课内容,总结本课重难点 2.评价学生随堂表现 3.布置课后作业 |
1.回顾绕环技术的重难点 2.了解课后作业内容与要求 3.行下课礼 |
1.帮助学生明确学习重点; 2.营造活力课堂氛围,鼓励提问与互动; 3.督促学生进行课外锻炼,促进终身体育意识与锻炼习惯的养成。 |
课后反馈 (不限时) |
1.收集、总结主题讨论核心思想 2.批阅课后作业,总结作业中的优缺点 |
1.参与主题讨论 2.完成课后作业 |
线上 |
1.获取学习反馈; 2.记录和评价学习行为; 3.修正教学策略。 |
|
九、课件或板书设计
课件设计: 精简内容,突出重点。以视频、图片等形式展示主要教学内容,力求达到优化教学过程,激发学习兴趣,辅助呈现运动轨迹和效果的目的。 板书设计: 以上课过程为主线,与课件有效融合,突出重难点。 |
十、教学评价与反思等
教学评价与反思: 课前设计课堂问卷、随堂测验、主题讨论、小组讨论、课堂问答、课堂师生研讨等形式,课中实施后获取学习反馈,评价学习效果,进一步调整教学策略。 课后对课堂教学情况与线上数据进行梳理与深入分析,对学生学习掌握情况、困难点、较容易掌握的地方进行再归纳。 对教学理念、教学组织过程、教学策略类型与应用时机、学生课堂即时反应学习能力提升、师生互动与课堂活跃度参与度等情况进行总结反思。 附:太极柔力球成绩构成与评定方式
成绩构成100% |
100 |
成绩评定要素 |
成绩评定方式 |
平时成绩(45%) |
5 |
线上任务点完成 |
学习通数据统计 |
5 |
线上测验得分 |
5 |
线上互动(主体讨论、小组活动等) |
5 |
考勤 |
学习通及线下考勤记录 |
7 |
线下课堂参与度 |
老师评定 |
7 |
作业 |
5 |
总结 |
6 |
课外锻炼打卡成绩 |
身体素质成绩(25%) |
15 |
有氧耐力 |
按国家体质测试标准进行评定 |
10 |
力量或速度 |
专项技术成绩(30%) |
10 |
花式小组 |
小组互评40+老师评定60 |
10 |
花式单人 |
老师评定 |
10 |
网式单人 |
|
案例正文:《羽毛球》混合式教学模式探索!
一、超星学习通慕课
本课程教学内容包块六个单元,32个知识点,分别是第一单元《大学生体质健康测试》2个知识点;第二单元羽毛球基本常识、基本技术介绍2个知识点;第三单元发球技术2个知识点;第四单元前场击球技术12个知识点;第五单元后场击球技术12个知识点;第六单元竞赛规程与裁判法2个知识点。对于羽毛球各个技术的教学示范面多,突出了技术的重难点,采用正常速度与慢速不同播放速度示范,教学讲解清晰,且搭配有效自学练习方法讲解,有利于促进学生知识构建。由于知识点数量较多,为了使学生能够充分利用碎片化时间学习保证学习专注性,每个视频的时间长度控制在5-10分钟,短小精悍,也便于学生在有问题的环节反复学习。
本课程的教学方法包括课前活动设计、课中活动设计、课后活动设计三个部分。课前在米兰milan中国网络教学平台和手机“学习通”APP软件平台中开放教学资源,并发布学习任务单,进行知识传递。学生则根据任务单完成自主学习,观看教学视频与完成相应的习题,完成知识内化、技术动作泛化过程。遇到问题时,可在“学习通”平台进行讨论与问答,不仅可以与同学交流,还可以向教师寻求帮助,也可以记录下来在课堂上提出。此过程的学习,学生可以在任何时间、任何地点、基于电脑或者任何移动设备获得所需的学习资源,按照自己的认知习惯和学习节奏进行个性化和碎片化的学习。容易掌握的知识快速学习,有难点的反复学习,以加深对知识点的理解。教学视频时间较短,可有效减少学习时间过长所带来的负面情绪。课中环节中,学生自行分组讨论自学内容和课堂练习设计,解决课前自学中为解决的问题,展示课前学习成果。但技术课前自学中只是建立了动作技术的概念和图像记忆,教师在分组练习中要进行面对面的实践性辅助,同时巡视课堂,提供个性化指导,再进行集体的纠正和总结。课后环节中,教师根据学生实际反馈进行教学反思优化改进教学方案,保证下次翻转课堂教学的顺利开展。学生通过“学习通”平台在线反馈此次翻转课堂的问题给教师。
表格1基于MOOC的羽毛球翻转课堂考核方式
考核内容 |
评价内容 |
评价方式 |
占总成绩比例 |
学习态度 |
出勤、平台学习记录 |
教师评价、平台评价 |
10% |
理论知识 |
平台答题成绩 |
平台评价 |
20% |
基本技术 |
现场技术考试 |
教师评价 |
30% |
基本能力 |
课堂比赛与身体素质 |
教师评价 |
40% |
本课程的评价方式包括课前评价、课中评价、课后评价、课程成绩评定四个方面。课前评价依据教学平台登陆的次数、学习时长、羽毛球MOOC课程的完成情况、参与问答讨论情况进行评价;课中评价依据学生对羽毛球知识点的讲解示范能力、分组比赛能力、裁判法能力等方面进行评价;课后评价依据平台再次登陆与复习知识点的次数和时间,平台互动情况等进行评价;课程成绩评定见表1。
自立项以来,通过超星MOOC平台建设了”羽毛球翻转课堂“,利用学习通手机端从2019-2020学年第一学期第一周开始实施至今,课程浏览量达到10万余次(图1)。参与班级数量为33个选项班,总计1386人(图1、2)。
图1羽毛球慕课封面

图2羽毛球慕课班级列表

通过与学生直接面谈得知,绝大部分学生没有进行过系统的羽毛球课程学习、没有参与过羽毛球训练以及没有从事羽毛球运动的习惯。实验班的学生没有接触过翻转课堂,很多学生都是第一次听说“羽毛球翻转课堂”。因此从教学内容、教学方法或手段、考核方式等教学组织形式等方面进行改革。
二、翻转课堂
一、“羽毛球翻转课堂”下技术课教学模式设计
本学期当中的羽毛球教学是在既有的教学环节与情景当中,借助线上教学网络平台结合翻转课堂,以实现“翻转课堂”的模式应用。因此,教师的教学方式、方法有别于旧有模式,线下与线上教学紧密结合,其设计与分析也需要结合线上教学情况进行分析。教师的教学在实际教学过程当中根据阶段划分来进行教学设计,分别在第1周、第6周、第12周和第16周进行:前端分析、中期设计和后期实施与评价3个部分的设计分析。
1.教学主体实施的前端分析
在前端分析中,对学生的(态度、需求、身体素质、综合能力、现有知识储备)、教学计划安排、教学目标及教学环境(网络教学环境、室外场地实践教学环境)进行有效分析,借此来结合线下教学进行各阶段线上教学资源的整合与设计基础。
2.教学计划安排的中期设计
在中期设计时,对羽毛球教学单元(一个单元的线上教学内容与线下实践教学活动组成一个学习单元)、羽毛球基本技术教学资源(线上教学资源和线下教学资源)等进行设计,以此来实现技术课教学与翻转课堂教学模式结合下的设计与具体实施、安排。
3.教学目标的实现与评价
后期实施与评价部分,将阶段性设计应用到相应阶段的实践教学,在羽毛球基本技术教学当中对学生进行翻转课堂教学模式的应用实施的具体流程与安排,提出注意事项与目标要求,完成后再对该阶段的实施进行相应的评价工作。在完成各阶段的教学后就形成了建立在线上线下相结合的平台之上的一个完整教学构架。
二、羽毛球技术课学生学习的设计
1.半自主式学习为主导的课前学习
主要是指对学生课前的准备阶段进行的一系列学习设计,学生在这一部分的学习主要包括:对基础理论课程的线上学习、教学资源的线上获取与浏览、学生自主进行教学实践课与准备活动的设计、备课安排等内容。在这一阶段的学习,主要是学生借助网络教学平台来实现的,而学生的学习主要采用半自主的方式进行。
2.合作探究式为手段的课中学习
学生在课上与教师进行共同学习,学生将课前所学到的知识在课上与教师进行探讨发掘、解决疑问。同时,学生在课上学习过程当中,根据教师的引导,学生与学生之间组成学习小组或者“搭档”,还可以互相扮演“小老师”的角色,学生在这一阶段真正的参与到了体育教学活动当中去,提高学生的自主学习能力(见图3)。
三、羽毛球技术课教学组织策略的设计
基于翻转课堂模式,应当充分的考虑到线上网络教学与线下技术课实践教学活动的相关特征,制定出:目标式教学与学习策略、案例式教学与学习策略、专题式教学与学习策略、任务式教学与学习策略、探究式教学与学习策略、体验式教学与学习等策略。教学组织策略在整个教学环节当中所实现的,在课前课中课后各有所侧重,成为课程实验实施的有力保证,为羽毛球技术课教学创设出更多的情景与可能。
图3羽毛球翻转课堂实施
三、教学成果
一、"翻转课堂”在羽毛球技术课教学中的实施流程设计
在羽毛球技术课教学当中实施“翻转课堂”教学模式就是结合线上线下羽毛球教学实践的有机融合,其教学设计主要包含:结合线下实际教学的课前学习、结合线上教学的课上学习、结合线上线下的课后学习,是利用线上教学平台的课前预习、课中内化和课后巩固。借助平台与移动端进行上传与发布;根据学生的具体情况与特点,在超星网络教学平台中上传本次课的理论知识与教学频屏影像资源、设置针对性的问题讨论、学习内容安排;与学生在线进行互动式交流;学生了解本次课的课程教学安排与主要学习内容,借助“学习通”网络教学平台与移动端进行课前预习、以自学为主;进行准备活动与课上前5一10分钟的教学内容设计;与教师在线讨论、提出问题等。
课中教师针对重难点与共性问题进行快速轻量化的探讨交流、问题答疑,对课前知识的学习进行深化补充;案例设置、组织教学活动实践、进行羽毛球技术课教学;协助学生进行教学活动开展、完成课上教学评价反思、构建学习小组与创设搭档学习;根据情况进度设置任务目标及作业安排、进行视频录制等。
课后教师进行对本次课的教学评价,主要包括:对学生评价、自身评价、对教学各环节评价,进行反思教学;针对学生上传的资料进行个性化指导、布置课下任务与作业安排;引导学生的课后学习、借助平台实时观测学生进度,提供帮助与针对性的解决问题;不断完善教学平台设计,上传或制作线上理论课教学视屏等。
二、线上学生参与教学的调查分析
1.章节教学内容设置
线上教学总计设置8次课,线上教学主要以图文、视频教学为主,其中包含68个视频、6个文档、51个图片,线上进行理论教学,线下进行实践教学,在翻转课堂的基础上结合线上线下开展教学工作。
2.单元教学任务完成情况
每个单元的教学任务都通过百分比的形式来进行反应,29个教学任务点视频完成率较高,理论教学任务点完成较低。(表2)
图4羽毛球线上课程统计
线上教学主要以“理论教学+视频教学”为主,视频教学任务完成情况相较其他较好,但理论教学任务完成情况水平较低,与预期有一定差距。线上教学任务与线下教学任务分配安排有一定的差距,原因在于线上主要进行的是理论教学、线下进行实践教学;原因在于大部分学生对于体育理论兴趣不浓厚。
3.学生访问情况
“翻转课堂”教学模式实施效果主要是依据线上和线下教学的整体情况来进行反映,学生羽毛球技术水平的提高作为主要观测指标和内容,线上学生的访问参与情况则作为一个辅助观测内容来进行实验对比。本实验统计截止到教学第15周,统计实验组学生线上总访问量和每个月各阶段的访问情况,来进行分析。
教学案例说明
案例思考题
你会使用超星学习通吗?
什么是翻转课堂?
我校羽毛球课混合式教学设计是如何安排的?
适用范围
适用对象:普通高校大学本科生、研究生。
适合课程:普通高校大学体育《羽毛球》专项课。
教学目标
1.掌握翻《羽毛球》转课堂方法及规律。
2.熟悉学习通线上羽毛球课程使用方法。
3.了解《羽毛球》慕课设计内容。
要点提示
《羽毛球》混合是教学:2019年开始由米兰milan羽毛球教学小组几位老师设计并实施,通过线上网课、线下翻转课堂的相结合的混合式教学模式,满足疫情常态化的体育教学需求,提高大学体育教学质量。
关键技术点:翻转课堂、学习通、混合式教学。
关键能力点:培养学生能够熟练适应混合式教学模式,促进学生知识构建,保障实践教学质量。
案例思路
通过对《米兰milan中国羽毛球选项课混合式教学模式》案例分析,帮助学生熟悉混合式教学方法,掌握线上、线下《羽毛球》课程学习规律,提高学习质量和实践能力。
教学计划
本次案例教学在一节体育课中进行,整个课程分为三个阶段进行,分别为阅读案例、小组讨论练习、成果分享汇报。
课堂时间安排
第一阶段(20分钟)
阅读案例,分组讨论思考题。(10分钟)
各小组发言,汇报讨论结果,分享各组观点。(10分钟)
第二阶段(50分钟)
1.分组练习,对案例中涉及相关知识要点进行梳理总结,并按照一般、有兴趣、较有兴趣三个类别进行知识点分类。(20分钟)
2.各小组推荐1名同学汇报总结结果。(30分钟)
第三阶段(20分钟)
最后的归纳总结。(10分钟)
2.教师各组点评及按照分类选择后期课程学习顺序。(10分钟)
参考文献
[1]中国专业学位案例教学中心。https://case.cdgdc.edu.cn.
[2]爱羽客。https://www.aiyuke.com/sport_players/index.html.
[3]高天.大数据思维视阈下体育课程教学案例库建设研究:以首都体育学院为例[J].首都体育学院学报,2017,29(06):514-516.
[4]王艳伟. 我国体育硕士专业学位研究生的教学案例创编研究[D].天津体育学院,2021.DOI:10.27364/d.cnki.gttyy.2021.000044.
[5]高天.体育课程案例资源库建设的困境与优化路径[J].教育理论与实践,2017,37(15):61-62.
[6]张健,李悦. 《运动生物力学》教学案例库建设的探讨与实践[C]//.第二十届全国运动生物力学学术交流大会论文摘要汇编.[出版者不详],2018:135-136.
案例正文:王文教的羽球精神!
中华人民共和国成立70年之际,习近平主席授予曾担任国家羽毛球队总教练的王文教“人民楷模”的国家荣誉称号。他是中国体育界这次唯一获得此殊荣的人,是我们体育届的荣耀(图1)。
图1习近平主席与王文教
王文教,男,汉族,中共党员,1933年11月生,福建南安人,羽毛球运动员、教练员、运动健将。打法积极,速度快,进攻意识强,扣球力量大。原国家羽毛球队总教练,第五、六届全国政协委员。
图2王文教
一、悠悠赤子心终生爱国情
习近平总书记指出,爱国是人世间最深层、最持久的情感。上个世纪50年代,新中国百废待兴,一大批心系桑梓的爱国华侨回到祖国,王文教就是其中之一。祖籍福建南安的王文教1933年出生于印度尼西亚梭罗市。1941年,刚满八岁的他就开始打羽毛球,只要一下课他就立马放下书包跑去打球,整天都泡在球场里,将羽毛球视作自己的第二生命。正是心怀赤诚的热爱,一直勤修苦练的他逐渐成长为印尼国家羽毛球队的一员,后来更是凭借其精湛的球技成为了印度尼西亚家喻户晓的羽毛球明星。
1953年,建设大潮中的新中国处处生机盎然。5月,全国四项球类(篮球、排球、网球、羽毛球)运动会在天津举办。作为印尼羽毛球明星,20岁的王文教跟随印尼华侨青年体育观摩团受邀参会。运动会后,王文教与刚刚产生的全国羽毛球冠军进行了一场友谊赛。结果打了对方15比0、15比6。看似轻松的胜利,却让王文教倍感沉重,一个想法在心底悄悄萌发。他与队友私下商议,回新中国打球,用自己的技术为祖国的羽毛球事业贡献一份力量。然而,在当时的环境下,回国并不是一件容易的事。那时的王文教在印尼已是家喻户晓的羽毛球明星,选择回国,他就要放弃已经取得的荣誉和地位,更要面对印尼当局的重重阻挠。在申请护照的时候,印尼当局要求王文教签下“离开印尼后,永远不再回到印尼”保证书。签了保证书意味着我永远与家里人断绝关系。当时,中国还不是国际羽毛球联合会的会员,回国就会失去很多国际大赛的参赛机会,这对于将羽毛球视作生命的王文教来说,无疑是残酷的。带着对家人的愧疚和对祖国的赤诚,王文教毅然签下保证书。1954年5月,他登上了回国的轮船。
二、燃情岁月羽球创业
那是的新中国百废待兴。考虑到当时羽毛球运动在群众中的普及程度和训练场地等因素,国家体委决定暂时将天津市作为球类运动训练基地,羽毛球班便被放在了天津基督教青年会的体育馆里惟一的一块羽毛球场地开展训练。在天津,王文教他们开始了我国羽毛球运动最初的普及和专业筹建,逐渐制订出包括身体训练、技术训练和战术训练内容的一套完整的训练计划。只有广大群众的积极参与,这项新的体育运动才有可能有坚实的基础和发展的前景。这一时期,王文教带着羽毛球班的成员经常在京津两地的一些工厂、学校等单位举行表演赛,并为羽毛球爱好者进行技术辅导。
王文教回忆说:“当时我们到北京讲羽毛球,人家都听不懂什么叫做羽毛球,我们就利用礼拜天,经常下工厂表演。我可以从脚底下、从背后击球。让人家看,有点像杂技表演,所以这样人家感兴趣了。我们一年365天在国家队,只休息一天半。”那是一段激情燃烧的岁月,王文教、陈福寿他们带回的先进打法和理念,犹如一颗火种,点燃了中国羽毛球事业崛起的希望之火。1956年,福建省成立了我国第一支省级羽毛球队。两年后,中国羽毛球协会成立,全国有20多个省、市成立羽毛球队。王文教和队友联合撰写了中国第一本羽毛球训练专业教材,确立了中国羽毛球最初的战术风格。
图3年轻时的王文教
初露锋芒一鸣惊人
1965年,王文教率队来到丹麦,向当时的世界亚军发起挑战。一踏上丹麦的土地,王文教和队员们就感受到了东道主的傲慢,当地媒体甚至打出大幅标题“中国人会打羽毛球吗?”第一场比赛,丹麦人派出了五届全英锦标赛冠军、名将科普斯,中国队派出了小将汤仙虎。根据汤仙虎的打法特点,赛前王文教特意让汤仙虎进行了45分钟的热身。这引来了丹麦人的嘲笑。国家羽毛球队原总教练汤仙虎回忆说:“他们就说中国队很傻,等下还有力打球吗?我们就憋着一口气,既然你是冠军,看你能高到什么程度。”
出人意料,第一局15比0,科普斯被汤仙虎打得毫无还手之力。接下来的17场比赛中,丹麦队溃不成军、无一胜绩。经此一战,中国羽毛球队赢得了“无冕之王”的美誉。

图4王文教带队获得冠军
三、光辉岁月缔造王牌
在中国羽毛球协会,这些历届国际赛事的奖杯,见证了中国羽毛球事业发展的历程,也珍藏了王文教一生的光辉记忆。1982年,王文教带领中国羽毛球队出征汤姆斯杯,这是中国恢复国际羽联合法席位后参加的第一次国际羽毛球赛事。决赛的对手是多次斩获汤姆斯杯的“羽坛霸主”印尼队。第一天四盘战罢,印尼以3比1领先。王文教和队员们马上总结经验教训,调整比赛方案。第二天,中国队奇迹般地连扳4分,向世界展示了中国人顽强拼搏的精神,并最终以总比分5:4实现惊天逆转,首夺汤姆斯杯!此后,王文教带领中国羽毛球队一路拼杀,10夺汤姆斯杯、14次夺得尤伯杯、11次夺得苏迪曼杯,累计获得18枚奥运金牌,培养出杨阳、赵剑华、李永波、田秉毅等一大批羽毛球顶尖人才,开启了中国羽毛球叱咤国际羽坛的辉煌时代。(详情见下表1-2)
表1王文教个人主要荣誉
时间(年) |
名称 |
1987 |
最佳教练员 |
2019 |
国家荣誉建议人 |
2019 |
共和国勋章 |
2019 |
人民楷模称号 |
2019 |
最美奋斗者 |
2020 |
2019华侨华人年度人物 |
1979 |
国家级教练称号 |
1957 |
运动健将称号 |
表2王文教个人主要成绩
时间 |
名称 |
1957 |
全国羽毛球比赛男子单打亚军(获奖) |
1958 |
全国羽毛球比赛男子单打冠军(获奖) |
1959 |
第一届全运会男双冠军(获奖) |
教学案例说明
案例思考题
1.王文教获得习近平主席颁发的什么荣誉称号?
2.王文教为什么舍弃一切回到中国?
3.王文教指导中国羽毛球队的技术风格是什么?
适用范围
适用对象:普通高校大学本科生、研究生。
适合课程:普通高校大学体育《羽毛球》专项课。
教学目标
1.了解中国羽毛球项目初期发展历史。
2.熟悉王文教教练归国效力的曲折经历。
3.培养不忘初心,牢记使命,奋发图强,争做奋斗者,努力为祖国和人民赢得荣誉的担当。
要点提示
王文教:作为中国羽毛球走向辉煌的奠基人,王文教被授予“人民楷模”称号,是对他几十年来心怀祖国、辛勤付出的最好褒奖。
中国羽毛球技术风格:以我为主、以快为主、以攻为主。
关键能力点:了解中国羽毛球从零到世界顶尖水平的发展经历,学习老一批羽毛球人的爱国精神、无私奉献精神和顽强拼搏、勇攀高峰、刻苦努力的精神。
案例思路
通过对“人民楷模”王文教教练的传奇经历及荣誉介绍,引出其中国羽毛球运动的初期发展历程,帮助学生了解英雄模范事迹,引发思考,培养爱国担当。
教学计划
本次案例教学在一节体育课中进行,整个课程分为三个阶段进行,分别为阅读案例(观看视频)、小组讨论、思考分享汇报。
课堂时间安排
第一阶段(20分钟)
阅读案例,分组讨论思考题。(10分钟)
各小组发言,汇报讨论结果,分享各组观点。(10分钟)
第二阶段(50分钟)
1.分组撰写个人心得体会。(20分钟)
2.各小组推荐1名同学进行心得体会分享。(30分钟)
第三阶段(20分钟)
最后的归纳总结。(10分钟)
2.教师各组点评。(10分钟)
案例正文:像世界冠军一样握拍!
一、世界冠军的握拍
在我们观看世界冠军比赛时,被他们优美舒展的动作所折服,击球动作飘逸、潇洒,这跟专业球员的专业握拍方式不可分割。这也是我们学羽毛球技术的基础,就像盖一栋大厦,正确的动作是地基,决定了高楼大厦的稳定性,然后才是击球节奏和空间感,是大厦的内装和外装,三个部分都做好了才完成一栋完整的大厦。
在分析握拍之前,我们首先要明确,每个羽毛球技术动作都有各自相应的握拍和指法,从不同角度击球或击出不同线路的球也要相应地采用不同握拍法。甚至不同的运动员完同一技术动作,也可采用不同的握拍和与之相配合的指法。例如李宗伟和陶菲克的杀球握拍就差别很大,但只要符合解剖学原理,易于发动并符合动作一致性和突变性的需求,就是合理的握拍法。
图1 陶菲克握拍 图2 李宗伟握拍
球拍有八个面,两个宽面,两个侧棱,四个斜棱。握拍的最终目的,是保证能够容易发上力,同时把球拍摆正。
李宗伟的握拍:“V”字握法,像握手一样,食指在一个宽面,另外四个手指在另一个宽面。食指在最高,拇指下来一点。“V”在侧棱和宽棱之间。在“V”字握拍基础上,向顺时针转动5度左右,虎口对准内侧斜棱。
陶菲克的握拍:又称“苍蝇拍”握法,“V”字握拍基础上,在向逆时针转动5度左右,虎口对准右边侧棱,拍面正,发力重。很多双打球员也这么握拍。
二、技术动作分析讲解:
为了学习方便与入门,我们将其简单归纳为正手握拍法和反手握拍法。
1.正手握拍。
就像握手一样握住球拍的正侧面,所以也叫握手握拍法。左手持拍杆,右手虎口张开五指分开从拍框滑下来,滑到锥盖和手腕齐平停(单打)。将拍柄卡在手指根部,从小拇指依次贴住拍柄握拍。食指分开,和大拇指形成一个“V”字来控制拍柄,五指当中,主要由拇指、食指、小拇指握住球拍,中指与无名指只起到一个轻微的辅助作用。
反手握拍时,要改变握拍的方法。将拇指的位置稍微上移一点,同时将拍柄稍微向外转动一点,拇指的指腹要紧紧贴在拍柄上。此时,拇指上移十分重要。同正手握拍一样,反手握拍也需要好好练习并掌握,能够在瞬间实现正手握拍和反手握拍的转换。

图3正手握拍 图 4 反手握拍
3.应注意的重点
重点1:空间
食指和中指之间有空间,才能控制拍面角度。如果食指和其余三指在一起这样的话,就有四个手指用来发力,仅一个手指来控制拍面。这样的话,拇指就没有被充分利用。手掌包裹也要有空间,击球的角度就可以由食指和拇指来控制。这样的话,能很好地控制拍子。留有空间,就能使你容易地改变握拍。如果没有这一点空间,像这样将会很困难来改变握拍。记住,空间,使你能够改变成不同的握拍。握拍时,设想你手里抓着一只蝴蝶,抓太紧蝴蝶死了,抓太松蝴蝶飞走了,做到松紧有度。
重点2:立腕
“立腕”是指手腕在拇指的方向稍微立起来。这是为了能够大力击球而采用的姿势,比起手腕伸直的姿势,它更能诱发爆发力。
重点3:拍柄的粗细
拍柄粗或细,各有其优劣之处。粗拍柄有利于将力量传送到球拍上,以便大力击球,同时也更容易接力量大的球。相反,不利于对球的细腻处理。粗拍柄对双打有力。细拍柄有利于实现手指的细腻操作,正反手容易转换。但是,传到球拍的力量中途大大削弱,不利于大力击球和接力量大的球。细拍柄对单打有利。
三、纠错与进阶练习方法
练习要求:
错误动作修正:
正手握拍
1.拇指紧贴在拍柄的内侧宽面上。
2.拳式握拍,各手指相互紧靠,掌心没有留出空间。
3.握拍太靠上,不利于高球、杀球等技术动作的发力。
4.食指紧张伸直。
反手握拍:
1.单独拇指用力顶在拍柄内侧宽面上。
2.拇指贴在拍柄内侧斜棱上。
3.整个拇指都紧贴在拍柄。
4.食指紧张伸直。
进阶练习方法:
1.身前正反手握拍转换练习15。
2.身前正手握拍上下控拍练习16。
3.身前正手握拍左右控拍练习17。
体侧正反手握拍转换旋转发力练习18。想要大力并且有效的击球,关键是通过肩关节、肘关节、腕关节的转动,使得小臂的内旋、外旋连贯一致、协调运动
教学案例说明
案例思考题
1.正手握拍要点有哪些?
2.反手握拍要点有哪些?
3.如何进行正反手握拍练习?
适用范围
适用对象:普通高校大学本科生、研究生。
适合课程:普通高校大学体育《羽毛球》专项课。
教学目标
1.在实践练习中对握拍技术动作有较准确的掌握。
2.掌握握拍技术练习方法及规律。
要点提示
1.握拍:正确的握拍帮正更好的发力,一开始就习惯于错误握拍后期要想纠正就很难。切击不要整个手掌包裹拍柄,而是用五个手指围绕拍柄握拍,在拍柄和手掌之间留有空袭。五指当中,主要由拇指、食指发力,其余三至辅助。
2.关键技术点:正手握拍、反手握拍。
3.关键能力点:培养学生能够熟练、准确运用握拍击球技术。
案例思路
通过对世界冠军李宗伟、陶菲克握拍方式介绍,详细讲解初学者的正确握拍技术动作分析,帮助学生掌握正确握拍方法,提高学生学习兴趣,规范技术动作,掌握实践练习方法。
教学计划
本次案例教学在一节体育课中进行,整个课程分为三个阶段进行,分别为阅读案例、小组讨论练习、成果分享汇报。旨在帮助体育课学生了解掌握羽毛球握拍技术动作要点以及掌握进阶练习方法。
课堂时间安排
第一阶段(20分钟)
阅读案例,分组讨论思考题。(10分钟)
各小组发言,汇报讨论结果,分享各组观点。(10分钟)
第二阶段(50分钟)
1.分组练习,对案例中涉及相关动作技术要点进行梳理总结,并进行分解动作练习。(20分钟)
2.完成连贯动作技术练习,各小组推荐1名同学进行练习成果汇报。(30分钟)
第三阶段(20分钟)
最后的归纳总结。(10分钟)
2.教师各组点评及错误动作纠正。(10分钟)
案例正文:你可以像张楠一样拥有精准发球!
一、张楠故事
张楠,男,1990年3月1日出生于北京,中国羽毛球双打运动员。张楠是奥运会历史上第二位、中国第一位拥有男双和混双奥运金牌的选手。世锦赛历史上第一位混合双打三冠王。同时也是一位集奥运会、世锦赛、亚运会、亚锦赛、军运会、全英赛及多座世界羽联超级系列赛和总决赛冠军于一身的大满贯运动员。被世界羽联评为奥运羽毛球比赛史上最成功运动员。
2011年世界羽毛球锦标赛混双冠军。2012年伦敦奥运会羽毛球混合双打冠军、2016年里约奥运会羽毛球男子双打冠军2014年世界羽毛球锦标赛混双冠军。2015年世界羽毛球锦标赛混双冠军(混双搭档为赵云蕾),2016年里约奥运会羽毛球男双冠军(男双搭档为傅海峰),2017年世界羽毛球锦标赛男双冠军(男双搭档为刘成),2017年9月3日,第十三届全运会羽毛球男团决赛,由林丹、张楠率领的北京男队以3-2艰难战胜卫冕冠军福建男队,首次获得全运会羽毛球男团冠军。2018年5月,汤姆斯杯冠军队成员。2019年世界军人运动会羽毛球男双、男团冠军。2022年8月20日,张楠在其社交媒体宣布退出国家队,但仍将以职业球员的身份继续参加比赛。(具体比赛详情见下表1-2)
表1张楠的个人主要成绩
时间(年) |
名称 |
获奖 |
2019 |
澳门羽毛球公开赛男双四强 |
获奖 |
2019 |
荷兰羽毛球公开赛男双四强 |
获奖 |
2019 |
印尼羽毛球大师赛男双冠军 |
获奖 |
2019 |
白俄罗斯羽毛球国际系列赛男双冠军 |
获奖 |
2019 |
日本羽毛球大师赛男双冠军 |
获奖 |
2018 |
中国(福州)大师赛男双四强 |
获奖 |
2018 |
中国羽毛球公开赛混双亚军 |
获奖 |
2018 |
世界羽毛球锦标赛混双季军 |
获奖 |
2018 |
世界羽毛球锦标赛男双季军 |
获奖 |
2018 |
亚洲羽毛球锦标赛混双四强 |
获奖 |
2018 |
亚洲羽毛球锦标赛男双四强 |
获奖 |
2018 |
全英羽毛球公开赛混双四强 |
获奖 |
2017 |
丹麦羽毛球首要超级赛男双冠军 |
获奖 |
2017 |
世界羽毛球锦标赛男双冠军 |
获奖 |
2017 |
澳大利亚羽毛球超级赛男双四强 |
获奖 |
2017 |
印尼羽毛球首要超级赛男双四强 |
获奖 |
2017 |
中国羽毛球大师赛混双四强 |
获奖 |
2017 |
马来西亚羽毛球首要超级赛混双四强 |
获奖 |
2017 |
瑞士羽毛球黄金大奖赛男双亚军 |
获奖 |
2017 |
瑞士羽毛球黄金大奖赛混双四强 |
获奖 |
2017 |
全英羽毛球首要超级赛男双四强 |
获奖 |
2017 |
德国羽毛球黄金大奖赛混双冠军 |
获奖 |
2017 |
泰国羽毛球大师赛混双冠军 |
获奖 |
2016 |
中国澳门羽毛球黄金大奖赛男双亚军 |
获奖 |
2016 |
中国澳门羽毛球黄金大奖赛混双冠军 |
获奖 |
2016 |
中国羽毛球超级赛混双亚军 |
获奖 |
2016 |
中国羽毛球超级赛男双四强 |
获奖 |
2016 |
法国羽毛球超级赛混双四强 |
获奖 |
2016 |
巴西里约奥运会羽毛球赛男双冠军 |
获奖 |
2016 |
巴西里约奥运会羽毛球赛混双季军 |
获奖 |
2016 |
印尼羽毛球超级赛混双四强 |
获奖 |
2016 |
亚洲羽毛球锦标赛混双冠军 |
获奖 |
2016 |
亚洲羽毛球锦标赛男双四强 |
获奖 |
2016 |
新加坡羽毛球超级赛男双冠军 |
获奖 |
2016 |
马来西亚羽毛球首要超级赛混双四强 |
获奖 |
2016 |
全英羽毛球公开赛混双四强 |
获奖 |
2015 |
中国香港羽毛球超级赛混双冠军 |
获奖 |
2015 |
中国羽毛球首要超级赛混双冠军 |
获奖 |
2015 |
丹麦羽毛球超级赛男双四强 |
获奖 |
2015 |
韩国羽毛球超级赛男双四强 |
获奖 |
2015 |
韩国羽毛球超级赛混双冠军 |
获奖 |
2015 |
日本羽毛球超级赛混双亚军 |
获奖 |
2015 |
日本羽毛球超级赛男双亚军 |
获奖 |
2015 |
世界羽毛球锦标赛混双冠军 |
获奖 |
2015 |
中华台北羽毛球公开赛男双冠军 |
获奖 |
2015 |
印尼羽毛球超级赛男双亚军 |
获奖 |
2015 |
印尼羽毛球超级赛混双亚军 |
获奖 |
2015 |
苏迪曼杯冠军 |
获奖 |
2015 |
新加坡羽毛球超级赛男双亚军 |
获奖 |
2015 |
新加坡超级赛混双冠军 |
获奖 |
2015 |
马来西亚羽毛球超级赛混双冠军 |
获奖 |
2015 |
全英羽毛球赛男双亚军 |
获奖 |
2015 |
全英羽毛球赛混双冠军 |
获奖 |
2014 |
世界羽联超级系列赛混双冠军 |
获奖 |
2014 |
中国香港羽毛球超级赛混双冠军 |
获奖 |
2014 |
中国羽毛球超级赛混双冠军 |
获奖 |
2014 |
丹麦羽毛球超级赛男双冠军 |
获奖 |
2014 |
仁川亚洲运动会羽毛球赛混双冠军 |
获奖 |
2014 |
世界羽毛球锦标赛混双冠军 |
获奖 |
2014 |
印尼羽毛球首要超级赛男双四强 |
获奖 |
2014 |
日本羽毛球超级赛混双冠军 |
获奖 |
2014 |
印度羽毛球超级赛混双四强 |
获奖 |
2014 |
瑞士羽毛球黄金大奖赛男双亚军 |
获奖 |
2014 |
全英羽毛球赛混双亚军 |
获奖 |
2014 |
马来西亚羽毛球超级赛混双四强 |
获奖 |
2014 |
韩国羽毛球超级赛混双冠军 |
获奖 |
2013 |
世界羽联超级系列赛总决赛混双亚军 |
获奖 |
2013 |
中国香港羽毛球超级赛混双四强 |
获奖 |
2013 |
中国羽毛球超级赛混双四强 |
获奖 |
2013 |
法国羽毛球超级赛混双冠军 |
获奖 |
2013 |
丹麦羽毛球超级赛混双冠军 |
获奖 |
2013 |
荷兰羽毛球大奖赛男双四强 |
获奖 |
2013 |
日本羽毛球超级赛混双冠军 |
获奖 |
2013 |
中国羽毛球大师赛混双冠军 |
获奖 |
2013 |
世界羽毛球锦标赛混双四强 |
获奖 |
2013 |
印尼羽毛球超级赛混双冠军 |
获奖 |
2013 |
亚洲羽毛球锦标赛混合双打亚军 |
获奖 |
2013 |
瑞士羽毛球公开赛混双亚军 |
获奖 |
2013 |
全英羽毛球赛混双亚军 |
获奖 |
2013 |
韩国羽毛球超级赛混双冠军 |
获奖 |
2012 |
世界羽联超级系列赛总决赛混双亚军 |
获奖 |
2012 |
香港羽毛球超级赛混双冠军 |
获奖 |
2012 |
丹麦羽毛球超级赛混双四强 |
获奖 |
2012 |
中国羽毛球大师赛男双冠军 |
获奖 |
2012 |
伦敦奥运会羽毛球混双冠军 |
获奖 |
2012 |
亚洲羽毛球锦标赛混双冠军 |
获奖 |
2012 |
马来西亚羽毛球超级赛混双冠军 |
获奖 |
2011 |
世界羽联超级系列赛总决赛混双冠军 |
获奖 |
2011 |
中国羽毛球超级赛混双冠军 |
获奖 |
2011 |
香港羽毛球超级赛混双冠军 |
获奖 |
2011 |
香港羽毛球超级赛男双四强 |
获奖 |
2011 |
法国羽毛球超级赛混双四强 |
获奖 |
2011 |
丹麦羽毛球超级赛混双四强 |
获奖 |
2011 |
日本羽毛球超级赛混双四强 |
获奖 |
2011 |
世界羽毛球锦标赛混双冠军 |
获奖 |
2011 |
印尼羽毛球超级赛混双冠军 |
获奖 |
2011 |
新加玻羽毛球超级赛混双四强 |
获奖 |
2011 |
亚洲羽毛球锦标赛混双冠军 |
获奖 |
2011 |
亚洲羽毛球锦标赛男双四强 |
获奖 |
2011 |
韩国羽毛球超级赛混双冠军 |
获奖 |
2010 |
世界羽联超级系列赛总决赛混双冠军 |
获奖 |
2010 |
广州亚运会混双亚军 |
获奖 |
2010 |
香港羽毛球超级赛混双亚军 |
获奖 |
2010 |
中国羽毛球超级赛混双亚军 |
获奖 |
2010 |
日本羽毛球超级赛混双冠军 |
获奖 |
2010 |
日本羽毛球超级赛男双四强 |
获奖 |
2010 |
全英羽毛球赛混双冠军 |
获奖 |
2010 |
德国羽毛球公开赛男双亚军 |
获奖 |
2010 |
韩国羽毛球超级赛男双四强 |
获奖 |
2010 |
马来西亚羽毛球超级赛男双四强 |
获奖 |
2009 |
东亚运动会混双亚军 |
获奖 |
2009 |
东亚运动会男双季军 |
获奖 |
2009 |
中国羽毛球超级赛混双四强 |
获奖 |
2009 |
世界青年羽毛球锦标赛混双亚军 |
获奖 |
表2张楠的团体主要成绩
时间(年) |
名称 |
获奖 |
2008 |
世界青年羽毛球锦标赛混合团体冠军 |
获奖 |
2018 |
亚运会羽毛球男团冠军 |
获奖 |
2017 |
汤姆斯杯男团冠军成员 |
获奖 |
2017 |
苏迪曼杯混合团体亚军 |
获奖 |
2014 |
亚洲羽毛球锦标赛混合团体季军 |
获奖 |
2014 |
仁川亚洲运动会羽毛球赛男子团体亚军 |
获奖 |
2014 |
汤姆斯杯男子团体季军 |
获奖 |
2013 |
苏迪曼杯混合团体冠军 |
获奖 |
2011 |
苏迪曼杯混合团体冠军 |
获奖 |
2010 |
广州亚运会男团冠军 |
获奖 |
2010 |
汤姆斯杯男团冠军 |
获奖 |
2009 |
东亚运动会男团冠军 |
获奖 |
二、张楠的精准发球
张楠是一位优秀的双打选手,在混双和男双两个单项上都有很深的造诣。而在双打比赛中,强发接发是每一分胜负的关键因素,下面我们一起来分析下张楠那精准的发球技术。
双打、混双和单打中,如果一个选手对自己的发球没有信心,那么是很难赢球的。因为他没法集中注意力于其他地方。所以,对发球要有信心,这是非常重要的。
发球目标:最好的发球是过网就下坠,到白线,双打要发准,单打要发快。双打中,可有1号区、2号区、3号区、4号区、5号区,五个发球区域选择,发球时,弧度、落点一定要像张楠一样控制精准才能在比赛一开始就占据优势。


图1发球目标区2 图2发球目标区3、4
图3 发球目标区1、2
发球要求:首先应击打球头;拍头向下;不能打羽毛;不能过1.15米。
张楠反拍发球技术动作分析:
1.握拍:
最好握拍靠前一点,不要靠后。握拍靠后的话,不太容易挥动握拍,靠前一点比较容易。平抽、压球、防守,都会很快很方便。打双打除了杀球,都要握高一点。拇指要按在宽面这里,这样就可以利用手指的力量。利用手腕将拍子向后挥动,不要用手臂挥动拍子。如果这样用手臂挥动拍子的话,不容易控制手臂。固定在这里,用手腕挥动拍子。
2.如何持球:
两个手指捏住一根羽毛,约一个食指关节,不要太多,也不要太少。太多容易打手失误,太少在比赛焦灼紧张时也容易失误。这个样子其余三个手指自然伸直,而不要弯曲,如果这三个手指弯曲的话,很容易被拍子打到,这样的话,就不得不让球提前脱手,从而不容易控制球。所以,用两个手指捏住一根羽毛三个手指自然伸直。保持球在手的外部,不在手下面,不然也会容易打手。

图4 张楠的精准发球(前场1)
图5张楠的精准发球(前场2)
3.站位:
发球时脚的位置该什么样,两脚略微错开左右站,右脚在前左脚在后。这样站,既能保证挥拍空间,又方便接第三拍。重心不在左腿而应放在右腿上。双打时要靠近T区站位。
4.架拍:
右手放松,不要太直,肘关节略微靠外,不是靠上。如何来击球?最好是推,用手腕拇指侧屈伸很柔和地推出去。持球略微斜对发球方,便于发1、2号位。
5.球头
球头角度决定飞行角度,可适当调整。最好指向膝盖(45度)的位置。不要垂直向下,如果球头垂直向下发球后,球容易向上走,轨迹比较高。甜区再靠下去击球。挥拍始终往前推保持一致,调整球头位置让球过网,包括2号位的发球。
不过要记住,发球时最重要的一点,就是尽量不要失误。安全的发球,就是最好的发球。避免一些华而不实的发球,尽管高难度的发球会给对手增加压力,同时也使自己发球的失误增加,发球的关键是要对自己的发球有信心,相信自己的发球,不要担心被对手攻击,无论你的技术技巧掌握的如何,如果你没有信心的话,那些东西都没什么用,如果不相信自己,就不会有进步。看过对手位置后,盯着网带去发,减少紧张感。不管对手有多快,如果你能发个很平很好的球,对手就没有机会进攻记住,相信你的发球。
张楠反拍发球技术要点:
1.推荐两个手指捏着羽毛球,其余三个手指自然伸直,球头对着膝盖的位置。球头向下,走的轨迹可能会高。
2.发球后立刻准备是关键,发球时只要脚感觉舒服就可以,不做要求。
3.球要离开身体,有挥拍空间。球拍手握上一点,用手腕挥动
球拍,而不是手臂。
如何击球?最好是推,很柔和的推出,这样较平较稳,不需要击打球,击打的话不容易控制好准确性。
图6张楠的精准发球(后场1)
图7张楠的精准发球(后场2)
4.推荐最好大多数球发到T位置,偶尔几个发边角。因为T位置较短,且进攻角度受限制,如果边角的话,对手进攻角度会比较大。为了隐蔽性好,发边角球时要发球的瞬间,改变球和拍的角度。
5.切球可使球有点飘,不容易接。
6.发球的关键是对自己有信心,不要担心对手攻击,无论你技巧掌握如何,无自信,惘然。
三、纠错与进阶练习方法
错误动作修正:
(1)握拍其他四指用第三指关节朝前握拍,而不要用第二指关节,不会锁住手腕。
(2)手不要很贴近身体,像拳击一样。
(3)不要压手腕。
(4)不要用肩膀或小臂发球。
(5)引拍不可以引太大,动作一定要小。
进阶练习方法:
应先进行1号位发球练习,可在网带插做为标志物。
5号位、2号位练习,注意动作一致,通过切球不同位置改变落点。
3号位、4号位发球练习,注意弧度要过顶。
两人一组发接发对练。
教学案例说明
案例思考题
1.对羽毛球奥运冠军张楠了解有多少?
2.双打发球技术动作要点有哪些?
3.双打发球区有哪些?
适用范围
适用对象:普通高校大学本科生、研究生。
适合课程:普通高校大学体育《羽毛球》专项课。
教学目标
1.掌握双打发球技术练习方法及规律。
2.熟悉知名奥运冠军张楠的运动生涯及荣誉。
3.能够在实践练习中对双打发球动作技术有较准确的掌握。
4.能够运用双打发球技术的进阶练习方法。
要点提示
1.双打发球技术:多采用反拍发球方式完成。
2.关键技术点:握拍技术、架拍动作、击球空间位置及动作顺序
3.关键能力点:培养学生能够熟练、准确运用反拍发球技术将球发到对方各有效区。
案例思路
通过对奥运会冠军,双打、混双兼项冠军张楠的运动生涯及荣誉介绍,引出其具有代表性的双打发球技术特点,帮助学生对其动作技术进行分析,提高学生学习兴趣,规范技术动作,掌握实践练习方法。
教学计划
本次案例教学在一节体育课中进行,整个课程分为三个阶段进行,分别为阅读案例、小组讨论练习、成果分享汇报。旨在帮助体育课学生了解羽毛球明星张楠的竞技荣誉,学习羽毛球双打发球技术动作要点以及掌握进阶练习方法。
课堂时间安排
第一阶段(20分钟)
阅读案例,分组讨论思考题。(10分钟)
各小组发言,汇报讨论结果,分享各组观点。(10分钟)
第二阶段(50分钟)
1.分组练习,对案例中涉及相关动作技术要点进行梳理总结,并进行分解动作练习。(20分钟)
2.完成连贯动作技术练习,各小组推荐1名同学进行练习成果汇报。(30分钟)
第三阶段(20分钟)
最后的归纳总结。(10分钟)
2.教师各组点评及错误动作纠正。(10分钟)
案例正文:你可以像谌龙一样拥有铜墙般的防守!
一、谌龙故事
谌龙,1989年1月18日出生于湖北省荆州市沙市区,身高臂长,拉吊突击型打法,擅长防守反击。是中国羽毛球运动员、奥运冠军。
2006年进入国家队,2012年首次参加奥运会并获得羽毛球男单季军。2014年9月,世界羽毛球锦标赛男单冠军,获得个人第一个世界冠军。同年首次登上羽毛球世界排名第一的位置。2015年8月,成功卫冕世锦赛冠军。
2016年8月20日,里约奥运会羽毛球男单决赛,谌龙以2-0战胜李宗伟,首次获得奥运冠军,这是谌龙连续三年在世界大赛的决赛中战胜李宗伟,同时也是中国羽毛球队夺奥运会羽毛球男单三连冠。2017年4月,亚洲羽毛球锦标赛2:1战胜林丹,从而首度夺得亚锦赛男单冠军。11月,中国公开赛谌龙2:1力擒新科世锦赛冠军安赛龙获得冠军。2018年法国公开赛冠军。2019年卫冕法国公开赛冠军。2019年11月12日,世界羽联公布了最新一期各单项世界排名,谌龙第四位。2021年,谌龙入选2020年东京奥运会中国体育代表团羽毛球项目运动员名单。同年获得东京奥运会羽毛球男子单打银牌。2022年6月22日,世界羽联公布最新一期世界排名,在男单项目,谌龙暂列第七。(具体成绩看下表1-3)
表1谌龙的主要个人荣誉
时间(年) |
名称 |
获奖 |
2021 |
全国体育系统先进工作者 |
获奖 |
表2谌龙的主要个人成绩
时间(年) |
名称 |
获奖 |
2007 |
全国青年赛甲组、 |
获奖 |
2007 |
亚青赛男单冠军 |
获奖 |
2007 |
世青赛男单冠军 |
获奖 |
2007 |
全国冠军赛男单亚军 |
获奖 |
2009 |
亚洲羽毛球锦标赛男单亚军 |
获奖 |
2009 |
德国超级系列赛男单四强 |
获奖 |
2010 |
中国羽毛球公开赛男单冠军 |
获奖 |
2011 |
世界羽联超级赛总决赛男单亚军 |
获奖 |
2011 |
李宁中国羽毛球公开赛男单亚军 |
获奖 |
2011 |
香港羽毛球公开赛男单四强 |
获奖 |
2011 |
法国羽毛球公开赛男单亚军 |
获奖 |
2011 |
丹麦羽毛球公开赛男单冠军 |
获奖 |
2011 |
日本羽毛球公开赛男单冠军 |
获奖 |
2011 |
李宁中国羽毛球大师赛男单冠军 |
获奖 |
2011 |
印尼羽毛球公开赛男单四强 |
获奖 |
2011 |
泰国黄金大奖赛男单冠军 |
获奖 |
2011 |
亚洲羽毛球锦标赛男单四强 |
获奖 |
2011 |
全英羽毛球赛男单四强 |
获奖 |
2012 |
世界羽联超级系列赛总决赛男单冠军 |
获奖 |
2012 |
香港羽毛球超级赛男单冠军 |
获奖 |
2012 |
李宁中国羽毛球公开赛男单冠军 |
获奖 |
2012 |
丹麦羽毛球公开赛男单四强 |
获奖 |
2012 |
李宁中国羽毛球大师赛男单冠军 |
获奖 |
2012 |
伦敦奥运羽毛球男单铜牌 |
获奖 |
2012 |
亚洲羽毛球锦标赛男单亚军 |
获奖 |
2012 |
瑞士羽毛球公开赛男单四强 |
获奖 |
2012 |
马来西亚羽毛球公开赛男单四强 |
获奖 |
2013 |
中国羽毛球超级赛男单冠军 |
获奖 |
2013 |
丹麦羽毛球超级赛男单冠军 |
获奖 |
2013 |
亚洲羽毛球锦标赛男单亚军 |
获奖 |
2013 |
全英羽毛球赛男单冠军 |
获奖 |
2013 |
德国羽毛球黄金大奖赛男单冠军 |
获奖 |
2014 |
世界羽联超级系列总决赛男单冠军 |
获奖 |
2014 |
香港羽毛球超级赛男单亚军 |
获奖 |
2014 |
丹麦羽毛球超级赛男单冠军 |
获奖 |
2014 |
仁川亚洲运动会羽毛球赛男单亚军 |
获奖 |
2014 |
世界羽毛球锦标赛男单冠军 |
获奖 |
2014 |
印尼羽毛球首要超级赛男单四强 |
获奖 |
2014 |
印度羽毛球超级赛男单亚军 |
获奖 |
2014 |
全英羽毛球赛男单亚军 |
获奖 |
2014 |
韩国羽毛球超级赛男单冠军 |
获奖 |
2015 |
世界羽联超级系列赛总决赛男单四强 |
获奖 |
2015 |
中国羽毛球首要超级系列赛男单亚军 |
获奖 |
2015 |
丹麦羽毛球超级赛男单冠军 |
获奖 |
2015 |
韩国羽毛球超级赛男单冠军 |
获奖 |
2015 |
世界羽毛球锦标赛男单冠军 |
获奖 |
2015 |
中华台北羽毛球公开赛男单冠军 |
获奖 |
2015 |
澳大利亚羽毛球超级赛男单冠军 |
获奖 |
2015 |
苏迪曼杯冠军 |
获奖 |
2015 |
亚洲羽毛球锦标赛男单四强 |
获奖 |
2015 |
马来西亚羽毛球超级赛男单冠军 |
获奖 |
2015 |
全英羽毛球赛男单冠军 |
获奖 |
2016 |
中国羽毛球超级赛男单亚军 |
获奖 |
2016 |
西里约奥运会羽毛球赛男单冠军 |
获奖 |
2016 |
亚洲羽毛球锦标赛男单亚军 |
获奖 |
2016 |
中国羽毛球大师赛男单亚军 |
获奖 |
2016 |
马来西亚羽毛球首要超级赛男单亚军 |
获奖 |
2017 |
中国香港羽毛球超级赛男单亚军 |
获奖 |
2017 |
中国羽毛球首要超级赛男单冠军 |
获奖 |
2017 |
世界羽毛球锦标赛男单季军 |
获奖 |
2017 |
澳大利亚羽毛球超级赛男单亚军 |
获奖 |
2017 |
亚洲羽毛球锦标赛男单冠军 |
获奖 |
2017 |
德国羽毛球黄金大奖赛男单四强 |
获奖 |
2018 |
中国福州羽毛球公开赛男单四强 |
获奖 |
2018 |
法国羽毛球公开赛男单男单冠军 |
获奖 |
2018 |
世界羽毛球锦标赛男单铜牌 |
获奖 |
2018 |
亚洲羽毛球锦标赛男单亚军 |
获奖 |
2019 |
世界羽联巡回赛总决赛四强 |
获奖 |
2019 |
法国羽毛球公开赛男单冠军 |
获奖 |
2019 |
丹麦羽毛球公开赛男单亚军 |
获奖 |
2019 |
中国羽毛球公开赛男单四强 |
获奖 |
2019 |
马来西亚羽毛球公开赛男单亚军 |
获奖 |
2019 |
瑞士羽毛球公开赛男单四强 |
获奖 |
2019 |
马来西亚羽毛球大师赛男单亚军 |
获奖 |
2020 |
全运会羽毛球男单四强 |
获奖 |
2020 |
东京奥运会羽毛球男单亚军 |
获奖 |
表3谌龙的主要团体成绩
时间(年) |
名称 |
获奖 |
2007 |
世青赛团体冠军 |
获奖 |
2010 |
汤姆斯杯男子团体冠军 |
获奖 |
2010 |
亚洲运动会羽毛球男团冠军 |
获奖 |
2012 |
汤姆斯杯男子团体赛冠军 |
获奖 |
2013 |
苏迪曼杯混合团体冠军 |
获奖 |
2014 |
仁川亚洲运动会羽毛球赛男子团体亚军 |
获奖 |
2014 |
汤姆斯杯男子团体季军 |
获奖 |
2017 |
苏迪曼杯混合团体亚军 |
获奖 |
2018 |
亚洲运动会羽毛球赛男子团体金牌 |
获奖 |
2018 |
汤姆斯杯男子团体冠军 |
获奖 |
2019 |
苏迪曼杯混合团体冠军 |
获奖 |
2021 |
运会羽毛球男团冠军 |
获奖 |
二、谌龙的防守挑球
和林丹相比,谌龙没有超长的滞空和大力杀球,在比赛中总给人一种进攻偏弱场面不好看的观感,但谌龙却是男单选手中的顶尖,这其实来源于谌龙的防守反击打法,而这种打法就依赖于他铜墙铁壁般的防守技术。
谌龙身高臂长,控制面积大,能够更好的组织防守反击。防守其中一项技术挑球,在防守反击中起到相当重要的作用,下面我们就一起来分析一下谌龙的防守挑球技术。
挑球是我们初学者在网前技术里面最先学到的,动作简单容易上手,也是羽毛球技术中采用频率相对较高的。下面我们从握拍、架拍、击球三个步骤来一起分析谌龙的正反拍挑球。
图1谌龙防守挑球正拍图 图2谌龙防守挑球反拍图
谌龙的防守正拍挑球技术动作分析:
1.正手握拍
2.架拍
右脚向右前方迈出一大步,重心前移,弓箭步,脚尖向外,防止踝关节外翻扭伤,膝关节在地面的投影面不能超过脚尖,否则膝关节会受伤。着力点在脚跟,不在脚尖。持拍向前,不要完全伸直手臂,左手后伸保持平衡1。
3.击球
由下而上,从右到左,食指顶住拍柄,小臂折叠,手腕固定几乎没有动作,收拍高于自己的头。击球点在网前低点,如能抢到高点击球,是不用此技术的2。
直线、斜线用肘关节来调整。不是靠手腕或者小臂,此时手腕、小臂需要稳定,有一点偏差,球容易出边界3。

图3谌龙防守挑球正拍1 图4谌龙防守挑球正拍2

图5谌龙防守挑球反拍1 图6谌龙防守挑球反拍2
谌龙的防守反拍挑球技术动作分析:
1.反手握拍,小拇指、无名指放松,球拍下面形成空间4。
2.架拍:与正手挑球类似,先出拍后出脚大拇指先发力,左臂后伸保持平衡5。
3.击球:肘关节、肩关节放松,大拇指发力同时手臂挥起来。由下而上,从左到右,球拍挥过头顶6。
完整动作:启动后前交叉步,左脚、右脚蹬跨挥拍击球,回动。手法不会的情况下,不要盲目的去跑步法,不然会给手脚配合带来影响7。
重点1:正拍80%靠食指,反拍80%靠拇指,所以一定要学会利用手指发力。
重点2:反手握拍时,食指和拇指对握,不要一上一下握拍,同时手心和拍柄之间要有一定空隙。由下向上挥拍,挥拍动作比正手挑球要快一些8。
三、纠错与进阶练习方法
练习要求:
尽量将球挑高,以争取更多的时间,落点到达球场底线。
错误动作修正:
(1)架拍动作过大,容易打漏,出现失误,拍应架在脚尖前面。
(2)正手挥拍从右到左肩,不是到左腰部,也不是从右到右。
(3)先出拍,再出脚,而不是先出脚再出拍。
进阶练习方法:
(1)定点扔球挑球练习。
(2)一步扔球挑球练习。
(3)完整步法扔球挑球练习。
(4)连续接吊球挑球练习。
教学案例说明
案例思考题
1.对羽毛球奥运冠军谌龙了解有多少?
2.反拍挑球技术动作要点有哪些?
3.挑球技术在什么时机使用?
适用范围
适用对象:普通高校大学本科生、研究生。
适合课程:普通高校大学体育《羽毛球》专项课。
教学目标
1.掌握正反拍挑球技术练习方法及规律。
2.熟悉知名奥运冠军谌龙的运动生涯及荣誉。
3.能够在实践练习中对正反拍挑球技术动作有较准确的掌握。
4.能够运用正反拍挑球技术的进阶练习方法。
要点提示
1.挑球技术:在前场击球,控制对方底线的一种击球技术。可用此技术来增加对手跑动,起到消耗对手的作用。
2.关键技术点:握拍技术、架拍动作、击球空间位置及动作顺序
3.关键能力点:培养学生能够熟练、准确运用正反拍挑球技术将球打到对方后场两底角。
案例思路
通过对奥运会冠军,稳扎稳打的运动员谌龙运动生涯及荣誉介绍,引出其防守反攻的打法特点,针对防守过渡中重要一环挑球技术进行详细分析,提高学生学习兴趣,规范技术动作,掌握实践练习方法。
教学计划
本次案例教学在一节体育课中进行,整个课程分为三个阶段进行,分别为阅读案例、小组讨论练习、成果分享汇报。旨在帮助体育课学生了解羽毛球明星谌龙的竞技荣誉,学习羽毛球正反拍挑球技术动作要点以及掌握进阶练习方法。
课堂时间安排
第一阶段(20分钟)
阅读案例,分组讨论思考题。(10分钟)
各小组发言,汇报讨论结果,分享各组观点。(10分钟)
第二阶段(50分钟)
1.分组练习,对案例中涉及相关动作技术要点进行梳理总结,并进行分解动作练习。(20分钟)
2.完成连贯动作技术练习,各小组推荐1名同学进行练习成果汇报。(30分钟)
第三阶段(20分钟)
最后的归纳总结。(10分钟)
2.教师各组点评及错误动作纠正。(10分钟)
案例正文:你可以像蔡赟一样搓出旋转球!
一、蔡赟故事
蔡赟,别名蔡子乔,江苏苏州沧浪人,中国男子羽毛球运动员。1989年进入苏州体校,教练是周建国;1993年进入江苏省体工队,教练是孙志安、赵新华;1999年进入国家二队,教练是伍佰强。2002年改练双打,并与傅海峰搭档,并称“风云组合”;他们于2006年、2009年、2010年及2011年四度夺得世锦赛男双冠军,亦是中国国家羽毛球队赢得汤姆斯杯五连霸及苏迪曼杯四连霸的重要成员;又在 2012年8月5日,伦敦奥运会羽毛球男双决赛中获得男双冠军,这也是中国队首次获得奥运会男双金牌,蔡赟也成功完成大满贯霸业。
2000年,蔡赟进入国家一队。2002年,蔡赟开始搭档傅海峰,被称为“风云组合”。2005年,蔡赟首次参加苏迪曼杯,帮助中国队拿到冠军。随后5届苏迪曼杯蔡赟均代表中国出战,全部夺得冠军。。2014年6月,蔡赟获免试保送资格,成为北京交通大学2014级本科生。2016年5月,受邀担当2016年“汤尤杯”的解说员。这也是蔡赟从职业运动员向羽毛球自媒体转变一个信号。2016年6月24日,蔡赟正式宣布退役。2017年9月,傅海峰和蔡赟获得“最多羽毛球世锦赛男子双打冠军”吉尼斯世界纪录称号。2021年6月2日,世界羽联官方宣布蔡赟入选世界羽毛球联合会名人堂。2022年8月,前羽毛球奥运冠军蔡赟在沈阳出席羽毛球商业活动,由于热身不充分,他在现场扣球时受伤,随后蔡赟通过个人微博公布了意外受伤的诊疗结果(详情见下表1-3)。
表1蔡赟的个人主要荣誉
时间(年) |
名称 |
获奖 |
2006 |
CCTV体坛风云人物最佳组合奖(和傅海峰) |
获奖 |
2011 |
CCTV体坛风云人物最佳组合奖(和傅海峰) |
获奖 |
2012 |
世界羽联2012年度最佳男运动员(和傅海峰) |
获奖 |
2013 |
CCTV体坛风云人物最佳组合奖(和傅海峰) |
获奖 |
2017 |
“最多羽毛球世锦赛男子双打冠军”吉尼斯世界纪录称号 |
获奖 |
表2蔡赟的个人主要成绩
时间(年) |
名称 |
获奖 |
2002 |
丹麦公开赛男双第八 |
获奖 |
2002 |
中国公开赛男双第四 |
获奖 |
2003 |
世锦赛男双第三 |
获奖 |
2003 |
泰国公开赛男双第四 |
获奖 |
2004 |
日本公开赛男双亚军 |
获奖 |
2004 |
瑞士公开赛男双冠军 |
获奖 |
2004 |
汤姆斯杯冠军成员 |
获奖 |
2004 |
印尼羽毛球公开赛男双亚军 |
获奖 |
2005 |
德国羽毛球公开赛男双冠军 |
获奖 |
2005 |
马来西亚羽毛球公开赛男双亚军 |
获奖 |
2005 |
全英羽毛球公开赛男双冠军 |
获奖 |
2005 |
世界杯羽毛球男双冠军 |
获奖 |
2005 |
苏迪曼杯冠军主力成员 |
获奖 |
2006 |
澳门羽毛球公开赛男双冠军 |
获奖 |
2006 |
台北羽毛球公开赛男双冠军 |
获奖 |
2006 |
汤姆斯杯冠军成员 |
获奖 |
2006 |
中国羽毛球大师赛男双亚军 |
获奖 |
2006 |
中国羽毛球公开赛男双亚军 |
获奖 |
2006 |
世界羽毛球锦标赛男双冠军 |
获奖 |
2007 |
全英羽毛球公开赛男双亚军 |
获奖 |
2008 |
北京奥运会羽毛球比赛男双亚军 |
获奖 |
2009 |
全英羽毛球超级赛男双冠军 |
获奖 |
2009 |
世界羽毛球锦标赛男双冠军 |
获奖 |
2010 |
世界羽毛球锦标赛男双冠军 |
获奖 |
2010 |
汤姆斯杯冠军第一男双 |
获奖 |
2011 |
丹麦羽毛球超级系列赛男双亚军 |
获奖 |
2011 |
法国羽毛球超级系列赛男双亚军 |
获奖 |
2011 |
日本羽毛球超级系列赛男双冠军 |
获奖 |
2011 |
世界羽毛球锦标赛男双冠军 |
获奖 |
2011 |
香港羽毛球超级系列赛男双冠军 |
获奖 |
2011 |
新加玻羽毛球羽毛球超级系列赛冠军 |
获奖 |
2011 |
亚洲羽毛球锦标赛男双冠军 |
获奖 |
2011 |
印度尼西亚羽毛球超级系列赛冠军 |
获奖 |
2011 |
中国羽毛球大师赛男双亚军 |
获奖 |
2012 |
韩国羽毛球超级系列赛男双冠军 |
获奖 |
2012 |
伦敦奥运会羽毛球男双冠军 |
获奖 |
2012 |
全英羽毛球赛男双亚军 |
获奖 |
2012 |
世界羽联超级系列赛总决赛男双四强 |
获奖 |
2012 |
香港羽毛球超级系列赛男双冠军 |
获奖 |
2013 |
世界羽毛球锦标赛男双四强 |
获奖 |
2013 |
世界羽毛球锦标赛男双四强 |
获奖 |
2013 |
新加坡羽毛球超级赛男双四强 |
获奖 |
2013 |
中国羽毛球超级赛男双四强 |
获奖 |
2014 |
新加坡羽毛球超级赛男双冠军 |
获奖 |
2014 |
中国羽毛球大师赛男双四强 |
获奖 |
2015 |
瑞士羽毛球黄金大奖赛男双冠军 |
获奖 |
2015 |
亚洲羽毛球锦标赛男双四强 |
获奖 |
2015 |
苏迪曼杯 |
获奖 |
表3蔡赟的团体主要成绩
时间(年) |
名称 |
获奖 |
2006 |
多哈亚运会羽毛球比赛男团冠军 |
获奖 |
2007 |
苏迪曼杯羽毛球混合团队赛冠军 |
获奖 |
2008 |
汤姆斯杯羽毛球团体锦标赛冠军 |
获奖 |
2009 |
苏迪曼杯世界混合团体锦标赛冠军 |
获奖 |
2010 |
亚洲运动会羽毛球男团冠军 |
获奖 |
2011 |
苏迪曼杯团体冠军(主力球员) |
获奖 |
2012 |
汤姆斯杯男团冠军(主力球员) |
获奖 |
2013 |
苏迪曼杯混合团体冠军 |
获奖 |
2014 |
仁川亚洲运动会羽毛球赛男子团体亚军 |
获奖 |
二、蔡赟的旋转搓球
蔡赟中国国家羽毛球队前队长,“风云组合”之“云”,才华横溢,是场上的指挥官、策划者。他在场上能够清晰无比地观察、计算和应对,快速判断,掌控局面,任何一场与同等级高手的对决,他绝少给对手可乘之机。下面我们一起来分下下这位球场发动机是如何运用旋转搓球技术的。
图1蔡赟的旋转搓球
蔡赟正拍搓球动作技术战术目的分析(收搓):
1.握拍。
不同的握拍,出球质量就不同。蔡赟的搓球需要手指的灵敏感觉,所以握拍一定要轻松柔和。要用手指肚来握拍,而不是用手掌握拍。
(1)两指之间,这里有空间。食指伸直的,不要弯曲拇指,是伸直的。用拇指和食指控制拍子,用这两个手指来切球,其余三个手指柔和地握住拍子。从不同的角度来仔细看一下,这是正确的握拍方法,用来搓球。
(2)如果满把抓,这个是错误的握拍,这是用来大力量击球时的握拍。
2.如何搓球。
蔡赟搓球拍子的轨迹,要接近半圆,不是平行移动拍子。不要这样平行移动拍子。这样,接近一个半圆,拍子这样搓,就能更有效果。看一下,像这样,画个半圆。

图2蔡赟的旋转搓球(收搓)1 图3蔡赟的旋转搓球(收搓)2

图4蔡赟的旋转搓球(展搓)1 图5蔡赟的旋转搓球(展搓)2
这里关键的一点是,击球点一定要在身前,就是这里。这样就有空间搓球,如果击球点在身侧、正面。搓球,只有击球点在身前,才有可能搓球。击球点在身侧的话,是不可能搓球的。当球在身侧的时候,最好移动到位,才有可能搓球。先移动到位,再搓球。这样搓的球,就更转。
3.尽可能的提高击球点。
要尽可能高,不要太低。站姿要注意的是,视线和击球点的高度要接近。这样就比较容易控制。搓球,需要反复多次的练习,正手和反手搓球可以这样来练习。用一个球,可以练习正手和反手。这个练习可以锻炼你的眼睛,使你击中球头,而不是羽毛。
蔡赟正拍搓球动作技术战术目的分析(展搓):
当球从斜线飞行过网时,用收搓技术容易过网偏高,这时就要用到展搓技术。要求基本和收挫球一致,架拍取位偏内侧,击球时由内向外侧斜上画圆,完成击球。
泛化分解
1身体面对球网,右脚向前迈一步,右手正手握拍。
2右臂向右上方伸直,球拍随着前臂向右上方斜举。球拍举至最高点时,手腕稍稍内收,拍头稍稍向下,拇指、食指夹拍,其余三指轻握拍柄。左臂自然后伸展,起到平衡作用。
3以肘部为轴心,前臂向外旋转,先收腕再展腕,击球托的右下侧部位,将球搓出,这样搓出的球向下旋转。(或者先展腕,再收腕,以斜拍面切击球托的右后侧部位,这样搓出的球呈上旋状态翻滚过网。)
三、纠错与进阶练习方法
练习要求:
练习时尽量抢高点搓球,直线球采用收搓技术,斜线球采用展搓技术,利用手指手腕的力量,让球过网后翻转。
错误动作修正:
(1)握拍太紧,动作僵硬,不是搓球而是将球弹出。
(2)动作过大,用前臂切球。
(3)搓球部位不正确,球不旋转。
(4)握拍时手心没有空出,击球时没有捻动。
进阶练习方法:
(1)定点抛球收搓练习。
(2)定点抛球展搓练习。
(3)中场启动,强高点搓球回中连贯练习。
教学案例说明
案例思考题
1.对“风云组合”了解有多少?
2.搓球技术动作要点有哪些?
3.收搓和展搓在什么时机使用?
适用范围
适用对象:普通高校大学本科生、研究生。
适合课程:普通高校大学体育《羽毛球》专项课。
教学目标
1.掌握搓球技术练习方法及规律。
2.熟悉知名奥运冠军蔡赟的运动生涯及荣誉。
3.能够在实践练习中对搓球技术动作有较准确的掌握。
4.能够运用搓球击球技术的进阶练习方法。
要点提示
1.正拍搓球技术:搓球是指球拍搓击羽毛球球托的左下侧或右下侧,使球向右侧或左侧旋转,翻滚过网的击球技术。
2.关键技术点:握拍技术、架拍动作、击球空间位置及动作顺序
3.关键能力点:培养学生能够熟练、准确运用正拍搓球技术将球旋转打到对方前场。
案例思路
通过对奥运会冠军,年少成名的运动员蔡赟的运动生涯及荣誉介绍,引出其具正拍搓球技术特点,帮助学生对其动作技术进行分析,提高学生学习兴趣,规范技术动作,掌握实践练习方法。
教学计划
本次案例教学在一节体育课中进行,整个课程分为三个阶段进行,分别为阅读案例、小组讨论练习、成果分享汇报。旨在帮助体育课学生了解羽毛球明星陶菲克的竞技荣誉,学习羽毛球正拍搓球技术动作要点以及掌握进阶练习方法。
课堂时间安排
第一阶段(20分钟)
阅读案例,分组讨论思考题。(10分钟)
各小组发言,汇报讨论结果,分享各组观点。(10分钟)
第二阶段(50分钟)
1.分组练习,对案例中涉及相关动作技术要点进行梳理总结,并进行分解动作练习。(20分钟)
2.完成连贯动作技术练习,各小组推荐1名同学进行练习成果汇报。(30分钟)
第三阶段(20分钟)
最后的归纳总结。(10分钟)
2.教师各组点评及错误动作纠正。(10分钟)